0
问答首页 最新问题 热门问题 等待回答标签广场
我要提问

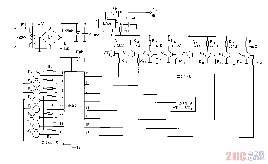
稳压电路电源

采用L200构成的触摸式电源电路图一

采用L200构成的触摸式电源电路图一
提问者:mu89640 地点:- 浏览次数:10233 提问时间:06-19 11:26
我有更好的答案
提 交
1条回答
Ada543 06-26 16:42

采用L200构成的触摸式电源电路图一.gif

撰写答案
提 交
1 / 3
1 / 3
相关稳压电路
用高压线性稳压器HIP5600构成的小功率无变压器稳压电源电路图
晶闸管式过电流保护电路之一a
晶体管稳流电源电路之二
0-30V连续可调稳压电源
无触点可逆换挡稳压电源
相关电源
TDA16846组成的彩电开关电源原理图
联想LX-PL4C2型彩色显示器开关电源电路
长虹CN-9机心彩电开关电源电路
索尼KV2184彩电开关电源电路
王牌TCL-3460D彩电开关电源电路