0
问答首页 最新问题 热门问题 等待回答标签广场
我要提问

稳压电路

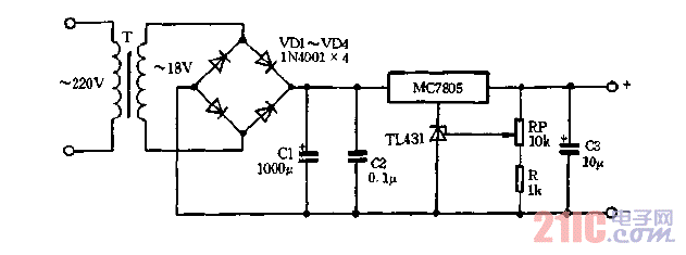
MC7805与TL431组成的可调稳压电源

MC7805与TL431组成的可调稳压电源
提问者:tianhua23 地点:- 浏览次数:6545 提问时间:03-28 08:40
我有更好的答案
提 交
1条回答
tvtsterwerw 04-04 21:12

MC7805与TL431组成的可调稳压电源.gif

撰写答案
提 交
1 / 3
1 / 3
相关稳压电路
用高压线性稳压器HIP5600构成的小功率无变压器稳压电源电路图
晶闸管式过电流保护电路之一a
晶体管稳流电源电路之二
0-30V连续可调稳压电源
无触点可逆换挡稳压电源