0
问答首页 最新问题 热门问题 等待回答标签广场
我要提问

稳压电路电源

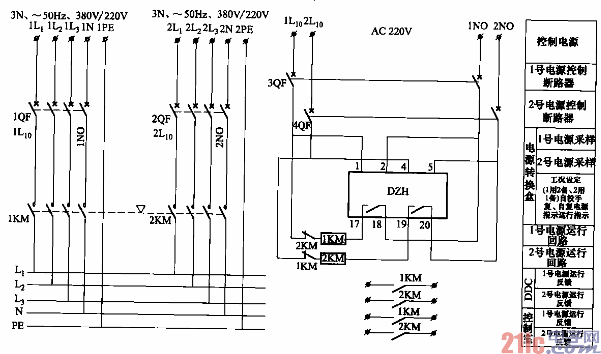
三相四线TN-S母线连通式双电源转换电路

三相四线TN-S母线连通式双电源转换电路
提问者:云汉电子社区邀好友 地点:- 浏览次数:601 提问时间:01-10 10:32
我有更好的答案
提 交
1条回答
tjgf 01-12 16:46

139.三相四线TN-S母线连通式双电源转换电路.gif


它主要用于三相四线需开断N线的配电场所,将断路器、接触

器换成三极,也可用于无需开断N线的场所。它具有1用2备、2用1备、自投手复和自复

等功能a可安装成双电源转换箱(不大于100A)和双电源转换柜(100~630A)。采用

DZH型转换模块。

撰写答案
提 交
1 / 3
1 / 3
相关稳压电路
用高压线性稳压器HIP5600构成的小功率无变压器稳压电源电路图
晶闸管式过电流保护电路之一a
晶体管稳流电源电路之二
0-30V连续可调稳压电源
无触点可逆换挡稳压电源
相关电源
TDA16846组成的彩电开关电源原理图
联想LX-PL4C2型彩色显示器开关电源电路
长虹CN-9机心彩电开关电源电路
索尼KV2184彩电开关电源电路
王牌TCL-3460D彩电开关电源电路