0
问答首页 最新问题 热门问题 等待回答标签广场
我要提问

开关电源电路升压电路LCD

LCD背光灯升压电路

LCD背光灯升压电路
提问者:jie119 地点:- 浏览次数:3654 提问时间:05-28 23:42
我有更好的答案
提 交
1条回答
nvuuweew 05-31 04:53

81.LCD背光灯升压电路.gif


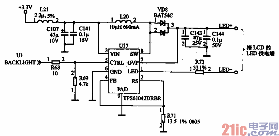
LCD背光灯升压电路


示为LCD背光灯的驱动电路,它采用升压方式将电池电压升高后供给液晶显示器的背

光灯。

撰写答案
提 交
1 / 3
1 / 3
相关开关电源电路
TEA1753T开关电源应用电路
TH-1024S集线器开关电源电路图
24V开关电源原理电路图
谁有开关电源电路原理图
一种UC3842设计的PWM开关电源电路
相关升压电路
MAX660与S81350HG构成的升压电路图
CW7800构成的集成稳压器的升压电路之二
1.5V电池供电15V输出DCDC升压电路
LT1111的典型应用电路升压电路图
晶体二极管-电容三倍升压电路
相关LCD
力信LCD开关电源电路
LCD背光闪烁
请教LCD背光引脚
LCD12864程序无法显示
关于LCD信号传输接口的资料