0
问答首页 最新问题 热门问题 等待回答标签广场
我要提问

开关电源电路充电电路

蓄电池恒流充电电路

蓄电池恒流充电电路
提问者:cmh8 地点:- 浏览次数:6785 提问时间:10-14 07:31
我有更好的答案
提 交
1条回答
zoujishi15 10-23 10:50

28.蓄电池恒流充电电路.gif


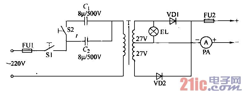
在蓄电池充电电路中,目前广泛采用自耦变压器和变阻器来调节充电电流.它的缺点是必须不断地监

视和调节电流。图所示是一种能自动保持充电电流在给定值上的电路。它采用在变压器一次绕组中

串联电容的办法,使充电过程中,电容和绕组之间的电压不断重新分配,因而使充电电流保持给定值。

    为使充电电流保持在5. 5A左右,变压器应选用功率大于170W.二次侧每半个绕组空载电压约为27V

为宜。开关S2可用于选择电容容量,从而控制充电电流,闭合时,充电电流约为5.5A。

撰写答案
提 交
1 / 3
1 / 3
相关开关电源电路
TEA1753T开关电源应用电路
TH-1024S集线器开关电源电路图
24V开关电源原理电路图
谁有开关电源电路原理图
一种UC3842设计的PWM开关电源电路
相关充电电路
长延时恒流充电电路
仙童高通2.0手机快速充电方案
LT1307构成的恒流充电电路图
由MIC5158构成的电池充电电路
镉溴蓄电池充电电路