0
问答首页 最新问题 热门问题 等待回答标签广场
我要提问

电源电路逆变器电路逆变器电路逆变电路

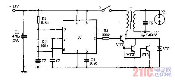
简易逆变器电路图

简易逆变器电路图
提问者:MAX_zuo 地点:- 浏览次数:11541 提问时间:10-07 02:37
我有更好的答案
提 交
1条回答
shbaoyan 10-16 11:48

简易逆变器电路图.gif

撰写答案
提 交
1 / 3
1 / 3
相关电源电路
无噪声的的功放电源电路
LG CF-25H84彩电开关电源电路
LG MC-8AA机心彩电开关电源电路
LG MC-022A机心彩电开关电源电路
LG MC-019A机心彩电开关电源电路
相关逆变器电路
300V1000W逆变器电路图
300V1000W逆变器电路图
采用ARM Cortex-M3单片机和DSP的逆变电源设计
一款常见车载逆变器电路及原理
一款常见车载逆变器电路及原理
相关逆变器电路
300V1000W逆变器电路图
300V1000W逆变器电路图
采用ARM Cortex-M3单片机和DSP的逆变电源设计
一款常见车载逆变器电路及原理
一款常见车载逆变器电路及原理
相关逆变电路
逆变器车载音频放大器电路图
直流12V到交流220V逆变电源
逆变器电路_逆变器电路图全集
逆变器电路_逆变器电路图全集
逆变电源电路