0
问答首页 最新问题 热门问题 等待回答标签广场
我要提问

电工电路充电电路

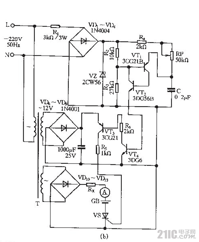
简易充电电路_2

简易充电电路_2
提问者:60user19 地点:- 浏览次数:4686 提问时间:02-25 13:37
我有更好的答案
提 交
1条回答
semiaxis 03-06 06:13

简易充电电路_2.gif

撰写答案
提 交
1 / 3
1 / 3
相关电工电路
电工常用图形符号与文字符对照表
全桥式开关电源电路主回路
24位4.7Hz、4通道模拟数据采集系统电路图
自适应直流供电电源电路
收音机减少交流声的电路
相关充电电路
长延时恒流充电电路
仙童高通2.0手机快速充电方案
LT1307构成的恒流充电电路图
由MIC5158构成的电池充电电路
镉溴蓄电池充电电路