0
问答首页 最新问题 热门问题 等待回答标签广场
我要提问

光电电路电子镇流器电路

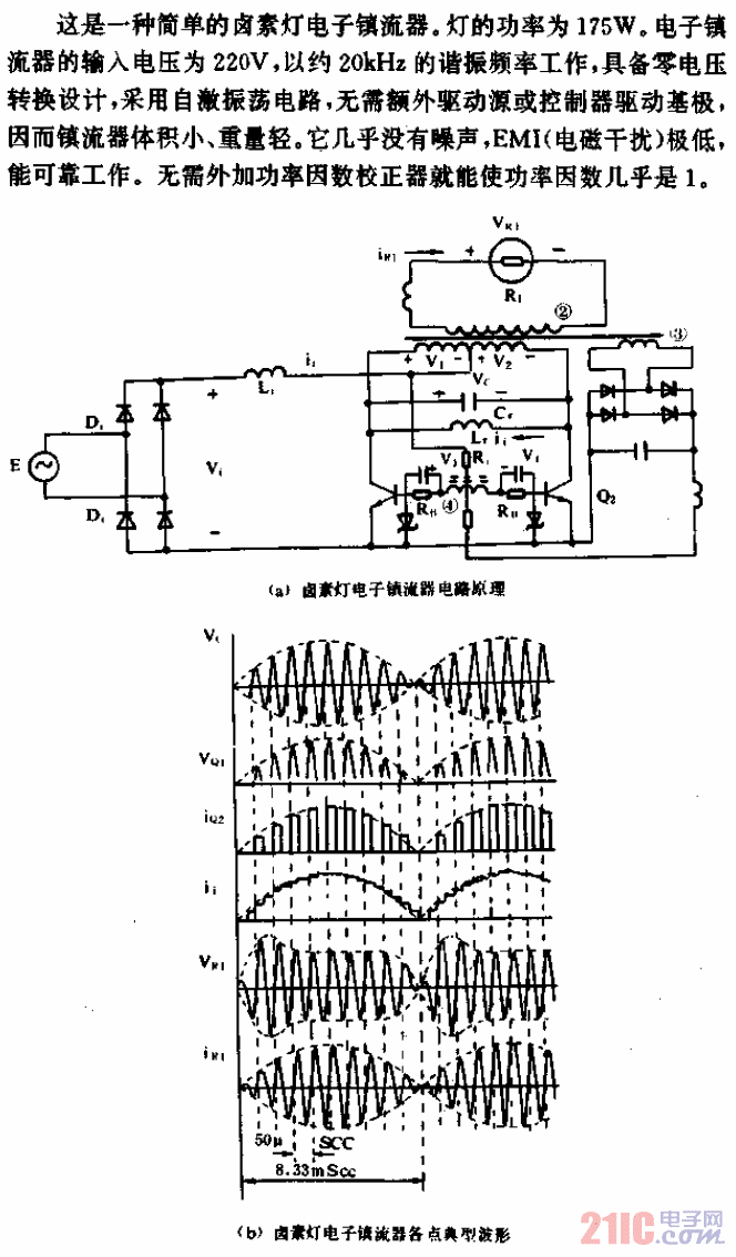
功率因数为1的卤素灯电子镇流器电路

功率因数为1的卤素灯电子镇流器电路
提问者:lc123617 地点:- 浏览次数:941 提问时间:09-13 12:35
我有更好的答案
提 交
1条回答
60user141 09-23 02:08

功率因数为1的卤素灯电子镇流器电路.gif

撰写答案
提 交
1 / 3
1 / 3
相关光电电路
具有音调控制的单片机立体声前置放大器
用于单片机与电子装置中的开关电源
TA7654P/TA7655P构成5点一条LED显示驱动电路图
用直流电点燃日光灯线路
7段LED显示器的分时驱动电路图
相关电子镇流器电路
电子镇流器电路图
采用TDA4918驱动卤素灯的电子镇流器电路
串联式电子镇流器电路图
荧光灯电子镇流器电路之二
9W(5W)电子镇流器电路图