0
问答首页 最新问题 热门问题 等待回答标签广场
我要提问

数字电路高频电路振荡器电路

高频晶体振荡器电路图

高频晶体振荡器电路图
提问者:safgafa 地点:- 浏览次数:7648 提问时间:07-24 22:18
我有更好的答案
提 交
1条回答
xzvzczfa 07-30 19:04

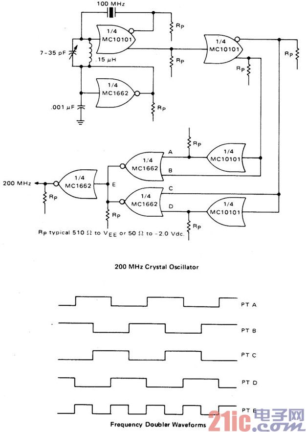
一个MECL 10K的晶体振荡器和一个MECL III倍频器可组合成一个高速振荡器,具体如图所示。MC10101的一部分作为一个100MHz的晶体振荡器和晶体管在反馈回路中串联。液晶振荡电路可调谐晶体管100MHz的谐波,也可用来校准电路至一定的频率。


高频晶体振荡器电路.jpg

撰写答案
提 交
1 / 3
1 / 3
相关数字电路
同步RS触发器的电路结构及其符号
序列信号发生器
点阵型LCD和矩阵键盘电路
数字滤波电路图
多谐振荡器的工作特点和符号
相关高频电路
使用高性能场效应晶体管的宽带超高频放大器电路图
高频功率放大器电路图
负偏压高频功放电路图
88-108MHz调频发射机高频功率放大器电路图(输出可达1
甚高频前置放大器电路图
相关振荡器电路
文氏电桥正弦振荡器电路
RC耦合自激多谐振荡器电路
用电位器控制的数字式振荡器电路图
串联型晶体振荡器电路
饱和输出发射极耦合自激多谐振荡器电路图