0
问答首页 最新问题 热门问题 等待回答标签广场
我要提问

数字电路耦合电路振荡器电路

RC耦合自激多谐振荡器电路

RC耦合自激多谐振荡器电路
提问者:击鼓巍山 地点:- 浏览次数:11153 提问时间:12-22 13:59
我有更好的答案
提 交
1条回答
rwd2016 01-01 06:38

39.RC耦合自激多谐振荡器电路.gif


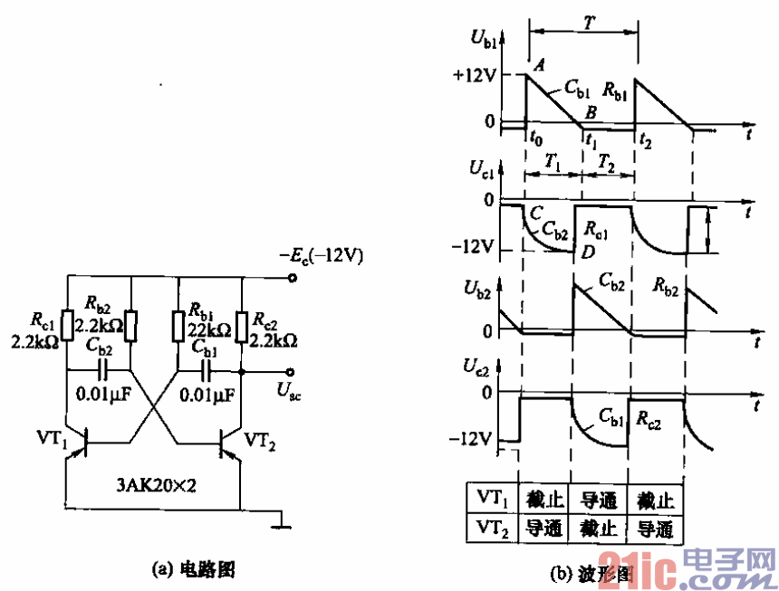
无稳态触发器又称多谐振荡器-常用作脉冲(方波)信号源等。无稳态触发器是有强烈

正反馈的放大器,它的两个耦合支路均为RC定时电路,所以没有稳定状态。


RC耦合自激多谐振荡器电路

撰写答案
提 交
1 / 3
1 / 3
相关数字电路
同步RS触发器的电路结构及其符号
序列信号发生器
点阵型LCD和矩阵键盘电路
数字滤波电路图
多谐振荡器的工作特点和符号
相关耦合电路
用变压器耦合的A类放大器
直接光耦合隔离放大电路图
直接耦合推挽功率放大电路图
用二极管耦合的甲乙类输出电路
采用反馈提高光电耦合器件线性度的电路图
相关振荡器电路
文氏电桥正弦振荡器电路
用电位器控制的数字式振荡器电路图
串联型晶体振荡器电路
饱和输出发射极耦合自激多谐振荡器电路图
高频振荡器电路图