0
芯片公司:德州仪器(TI)
发布时间:2018-08-03
变速驱动器广泛用于各种 应用,包括机器人和计算机数控 (CNC) 机器。安全一直以来都是大家非常关注的问题,因为无论什么时候,这些与人类息息相关的系统都会涉及到保持和运动控制。我们新近开发的具有内置安全相关 特性 的驱动器摒弃了传统的控制方法,无需再使用停机和转速监控器、限位开关、位置摄像头和接触器等,这大大提高了系统的可靠性。自动化生产过程中存在着大量风险因素,特别是垂直运动情况下的重力,如果发生电源故障或制动装置失灵,后果将不堪设想。“安全制动控制”(SBC) 功能可实现制动器的安全控制,从而防止吊挂荷载掉落。在 CNC 机器中,SBC 可防止由于外力作用而发生移动。SBC 符合变速驱动器的 EN 61800-5-2: 2007 功能安全标准。
SBC 会提供安全的输出信号来驱动外部机械制动器。所使用的制动器必须是安全制动器,其静态电流用于对抗弹簧的作用力。如果电流中断,则制动器啮合。控制模块通常具有降功特性,可在制动器松脱后减少能耗或制动器发热。具有吊挂荷载的轴上通常会使用保持制动器和行车制动器。SBC 功能通常用于控制保持制动器,且会在轴停止时立即激活。
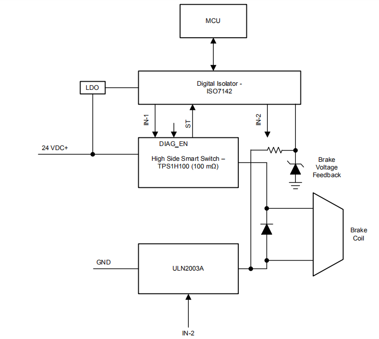
本参考设计为额定电流最高为 2A 的保持制动器实施了 SBC 功能。本设计将 TPS27S100 用作高侧智能开关,将 ULN2003A 用作低侧开关。我们实施了双开关控制来确保制动器的安全运行。通过数字隔离器ISO7142 将制动器控制信号与控制器隔离。通过 TPS27S100,本设计可以在制动器输出上检测开路和短路情况,从而提高系统的安全性。低侧开关上的 PWM 会减小制动线圈的输出电压,从而减少制动器通电时的功耗。负载开关消除了离散元件,提高了系统的可靠性。
伺服驱动器、机器人和 CNC
制动阐控制器
• 可实施符合 EN 61800-5-2 规定要求的安全制动控制
• 具有高达 2A 电流且通过隔离式控制信号控制的 24V额定制动阐
• 可改善安全运行的双开关控制
• 涵盖 开路 检测和过流保护的自诊断功能
• 高侧开关故障检测
• 可通过快速减小制动阐电流快速应用制动阐
• 可以选择减小制动闸输出点的电压,从而降低功耗

| 图片 | 数据手册 | 商品名称 | 产品型号 | 产品描述 | 品牌 | 单机用量 | 价格 | 操作 |
|---|---|---|---|---|---|---|---|---|
|
|
电源管理芯片(PMIC) | TPS7B6933QDBVRQ1 | TPS7B69-Q1 汽车类高电压超低 IQ 低压降 (LDO) 稳压器 | TI | 1 |
|
在线订购 | |
|
|
浪涌电流限制器(ICL) | TVS3300DRVR | 33V 平缓钳位浪涌保护器件 6-WSON | TI | 2 |
2.3690
3000+ 2.9922 6000+ 2.7656 9000+ 2.6501 15000+ 2.5204 21000+ 2.4436 30000+ 2.3690 |
在线订购 | |
|
|
USB电源开关/负载开关 | ULN2003APWR | 50伏7通道达林顿晶体管阵列-20C至70C | TI | 1 |
|
在线订购 | |
| 查看更多 | ||||||||
| 用户指南: | 适用于伺服驱动器和机器人的智能制动控制和诊断参考设计.pdf |
| Gerber: | TIDA-01600 Gerber Gerber.pdf |
| BOM List: | BOM.pdf |
| PCB: | TIDA-01600 PCB.pdf |
| 电路图: | 适用于伺服驱动器和机器人的智能制动控制和诊断参考设计原理图.pdf |
方案咨询
热门方案
关键词: 华芯微特SWM201MCUBLDC无刷电机落地扇方案
关键词: BLDC马达控制无刷电机风筒吹风机
关键词: BLDC马达控制无刷电机吸尘器
关键词: BLDC马达控制无刷电机电动工具电钻
关键词: 中微,CMS32M5526,空净风机,BLDC,电机控制