0
问答首页 最新问题 热门问题 等待回答标签广场
我要提问

开关电源电路过流保护电路

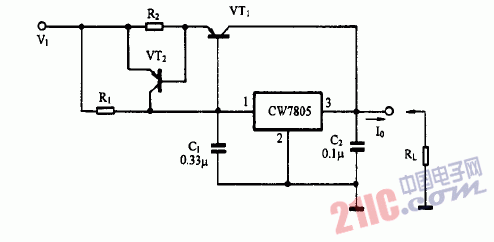
巧用CW7805作过流保护输出稳压电源电路图

巧用CW7805作过流保护输出稳压电源电路图
提问者:muwurwr 地点:- 浏览次数:6232 提问时间:04-20 11:41
我有更好的答案
提 交
1条回答
tianhua23 04-27 14:03

 

巧用CW7805作过流保护输出稳压电源电路图

 

撰写答案
提 交
1 / 3
1 / 3
相关开关电源电路
TEA1753T开关电源应用电路
TH-1024S集线器开关电源电路图
24V开关电源原理电路图
谁有开关电源电路原理图
一种UC3842设计的PWM开关电源电路
相关过流保护电路
数控开关电源过流保护电路图
集成运算放大器输出过流保护电路原理
长虹NC-3机芯场过流保护电路
大功率直流电机的过流保护电路图
大功率直流电动机过流保护电路