0
问答首页 最新问题 热门问题 等待回答标签广场
我要提问

开关电源电路晶闸管电路

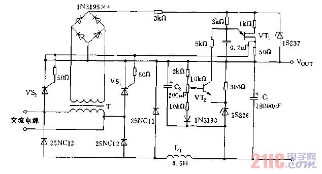
采用晶闸管构成的输出10A电流的稳压电源电路图

采用晶闸管构成的输出10A电流的稳压电源电路图
提问者:60user143 地点:- 浏览次数:943 提问时间:06-06 07:44
我有更好的答案
提 交
1条回答
懒默浅默 06-09 14:44

采用晶闸管构成的输出10A电流的稳压电源电路图.gif

撰写答案
提 交
1 / 3
1 / 3
相关开关电源电路
TEA1753T开关电源应用电路
TH-1024S集线器开关电源电路图
24V开关电源原理电路图
谁有开关电源电路原理图
一种UC3842设计的PWM开关电源电路
相关晶闸管电路
高频晶闸管触发电路图
晶闸管与门电路电路图
晶闸管式过电流保护电路之一a
晶闸管过流保护电路图
晶闸管控制的水罐增压供水自动控制电路