0
问答首页 最新问题 热门问题 等待回答标签广场
我要提问

电子百科

缝隙天线

缝隙天线

缝隙天线的概述

  •   缝隙天线在导体面上开缝形成的天线,也称为开槽天线。典型的缝隙形状是长条形的,长度约为半个波长。缝隙可用跨接在它窄边上的传输线馈电,也可由波导或谐振腔馈电。这时,缝隙上激励有射频电磁场,并向空间辐射电磁波。缝隙天线一般用于微波波段的雷达、导航、电子对抗和通信等设备中,并因能制成共形结构而特别适宜于用在高速飞行器上。中国第一颗人造卫星就使用了缝隙天线。

缝隙天线的原理

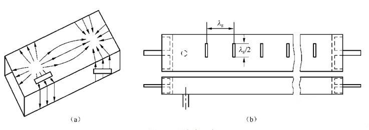
  •   波导缝隙天线如图(a)所示,图中波导传输TE10模,波导的内壁上有电流分布,管壁上的缝隙天线切割电流线,缝隙受到激励而向外产生辐射,形成波导缝隙天线。  

          为加强缝隙天线的方向性,可以在波导上按一定规律开一系列尺寸相同的缝隙,构成波导缝隙阵。图(b)所示为谐振式缝隙阵,为保证所有缝隙都得到同相激励,相邻缝隙的间距应取λ。

缝隙天线的特点

  •   缝隙天线具有轮廓低、重量轻、加工简单、易于与物体共形、批量生产、电性能多样化、宽带和与有源器件和电路集成为统一的组件等诸多特点,适合大规模生产,能简化整机的制作与调试,从而大大降低成本。

缝隙天线的优缺点

  •   特点:

      1.厚度很小

      2.结构牢固

      3.馈电方便

      缺点:

      1.容量不高

      2.频带较窄

缝隙天线的应用

  •   缝隙天线自上世纪中叶以来有了很大的发展,广泛用于地面、舰载、机载、导航等各个领域。由于缝隙阵列天线对天线口径面内的幅度分布容易控制,口径面利用率高,体积小,易于实现低或极低副瓣等特点,因而使其获得广泛使用。
提问者:崇明土匪 地点:- 浏览次数:5636 提问时间:09-13 01:35
我有更好的答案
提 交
撰写答案
提 交
1 / 3
1 / 3
相关电子百科
硅胶板
3D晶体管
双极性晶体管
晶体管时间继电器
导热硅胶垫