电子百科

料斗:固定于胶带(或牵引链)上,有三种
深斗——适合于松散物料;
浅斗——粘性较大的物料;
三角斗——比重大且成块状的物料
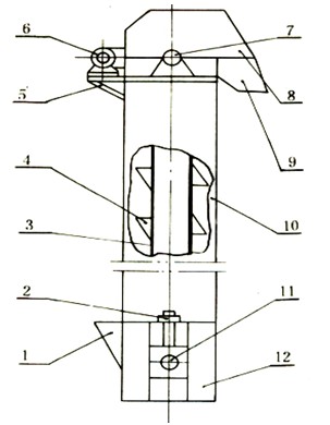
外壳:内装传动装置和止动器。
机身:薄钢板焊成方形壳,装跑偏报警器。
下部:装张紧装置。
1、按布置形式:可分为立式和倾斜式两种
2、按卸料方式不同:可分为离心式、重力式和混合式。
3、按装料方式不同:可分为挖取式和注入式。
4、按料斗的结构不同:可分为浅斗、深斗和三角形斗。
5、按牵引构件不同:可分为胶带和钢质链条。
1、驱动功率小,采用流入式喂料、诱导式卸料、大容量的料斗密集型布置。在物料提升时几乎无回料和挖料现象,因此无效功率少。
2、提升范围广,这类提升机对物料的种类、特性要求少,不但能提升一般粉状、小颗粒状物料,而且可提升磨琢性较大的物料。密封性好,环境污染少。
3、使用寿命长,提升机的喂料采取流入式,无需用斗挖料,材料之间很少发生挤压和碰撞现象。本机在设计时保证物料在喂料、卸料时少有撒落,减少了机械磨损。
4、运行可靠性好,先进的设计原理和加工方法,保证了整机运行的可靠性,无故障时间超过2万小时。提升高度高。提升机运行平稳,因此可达到较高的提升高度。
优点:
1、结构简单,横向尺寸小,占地面积少。
2、提升高度大,输送能力好,机身全封闭,对环境污染小。
3、耗用动力小。
缺点:
1、过载时易堵塞,料斗易磨损。
2、只宜于输送粉粒状和中小块状的散货,如粮食、煤、砂等。
3、不能在水平方向上输送货物。
1、操作时必须遵守“无载起动,空载停车”的原则。也就是先开机,待运转正常后,再给料;停车前应将机内的物料排空。
2、工作时,进料应均匀,出料管应通畅,以免引起堵塞。如发行堵塞,应立即停止进料并停机,拉开机座插板,排除堵塞物。注意此时不能直接用手伸进底座。
3、正常工作时,料斗带应在机筒中间位置,如发现有跑偏现象或畚斗带过松而引起料斗与机筒碰撞摩擦时,应及时通过张紧装置进行调整。
4、严防大块异物进入机座,以免打坏料斗,影响斗提机正常工作。输送没有经初清理的物料时,进料口应加设铁栅网,防止稻草、麦杆、绳子等纤维性杂质进入机座引起缠绕堵塞。
5、应定期检查提升机料斗带的张紧程度,料斗与料斗带的连接是否牢固,如发现松动、脱落、料斗歪斜和破损现象,应及时检修或更换,以免发生更严重的后果。
6、如发生突然停机的情况,应先将机座内积存的物料排出后再开机。