电子百科

高频调谐器分机械调谐和电调谐两类。机械调谐高频头是通过改变电感进行频道选择的。 该调谐方式的优点是: 开关每转动一档, 就可切换一个频道, 不需另加选台装置 电性能稳定, 维修调整均方便。主要缺点是体积大、机械结构复杂, 并且机械触点多, 用久易发生接触不良 。
电调谐高频头是通过改变回路中的电容进行频道选择的。 目前, 都是采用变容二极管代替可变电容。 它的优点是无机械触点、 寿命长。 在波段范围内频率连续可调, 但频率位置不能固定, 在更换台时需临时调整。 为避免这一麻烦, 就必须附设多路频道预选器。 另外, 电子调谐器的本振频率易受温度变化的影响, 故常设AFC电路。
不论是机械调谐还是电调谐, 都必须同时改变输入回路、 高放及本振回路的调谐参数(电感或电容)才可以切换频道。 近年来, 电视接收机调谐器不仅出现了各种类型的模拟或数字式电子选台和自动预选装置, 而且已广泛使用光控式近红外遥控器, 以及与微处理器结合的多功能遥控器, 应用语言识别技术的语言遥控器也正在进行研究。
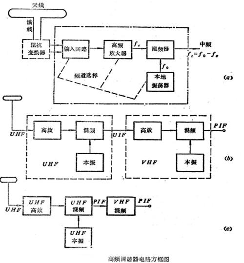
高频调谐器亦名频道选择器或高频头。其作用是从天线感应的电信号中选出所需高频电视信号、并进行放大,由混频级产生图象中频信号和伴音第一中频信号,并将它们送到图象中放通道进行放大。
由于VHF频段(45~210MHz)和UHF频段(470~960MHz)所占频率范围很宽,通常采用甚高频(VHF)调谐器和超高频(UHF)调谐器分别接收。图5.2-1(a)为VHF调谐器的原理方框图,UHF调谐器也可以设计成类似的电路结构形式。但是,由于UHF信号频率很高,UHF调谐器(又称U头)的增益不容易做得很高。在U头工作时,可将UHF调谐器变成放大器,加以补偿。U头与VHF调谐器有两种连接方式:其一是两次变频方式(如图(b)),先用U头把UHF信号变成较低的中频UHF(实际上是VHF的一个频道)信号,再与VHF调谐器累接。其二是一次变频方式(如图(c)),它是用U头直接得到图象中频(PIF)信号,并让VHF调谐器的本振停振。此时,只有VHF调谐器的混频器起作用,实际变成一级图象中频放大器。

1、从接收天线中感应的许多电信号中, 通过输入回路和高放级回路选择出需要的电视频道节目。
2、将选择出的高频电视信号(包括图像和伴音高频信号), 经高频放大器放大, 提高灵敏度, 并满足混频器所需要的幅度。
3、通过混频器将图像高频信号 (fP) 和伴音高频信号 (fS) 变换成各自固定的图像中频 (fPI)�和第一伴音中频 (fSI) 信号, 然后送到中频放大器再进一步放大。
1. 噪声系数小、 功率增益高、 放大器工作稳定。
2. 具有足够的通频带宽度和良好选择性,高频调谐器应该具有从接收天线感应得到的各种电磁信号中选取所需要的频道信号、抑制邻频道干扰、镜像干扰和中频干扰的能力。
3. 与天线、 馈线有良好的匹配关系。
4. 高放级应设有自动增益控制电路,一般要求自动增益控制范围应达到20 dB以上, 以保证当天线输入电平, 在一定范围内变化时, 视放输出电压基本保持幅度稳定。
5. 本机振荡的频率稳定度要高, 且对外辐射小。通常要求VHF段本振漂移小于±300 kHz, UHF段本振漂移小于±500 kHz。