电子百科

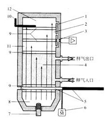
微流量红外气体分析器的原理结构如图。

1-毛细管气流通道,2-第二层接收气室,3-微流量传感器,4-测量气室,
5-切光片,6-切光片马达,7-红外光源,8-反射镜,9-光学窗口,
10-可调滑片,11-第一层接收气室,12-第三层接收气室
红外光源7被加热到600℃时发射出红外线,由切光片5调制成频率为25/3Hz的间断光束,经测量气室4进入检测器的接收气室。
接收气室由填充了待测组分的多层串联气室组成,第一层吸收红外辐射波带中间位置的能量,第二层吸收边界能量,二者之间通过微流量传感器3连接在一起。当切光片处于“接通”位置时,第一层接收气室11填充的待测组分吸收红外辐射能量后,受热膨胀,压力增大,气流经毛细管通道流向第二层接收气室2;当切光片处于“遮断”位置时,第一层气室填充气体冷却收缩,压力减小,第二层气室的气流经毛细管通道反向流回第一层气室。切光片交替通断,气流往返流经微流量传感器,便在检测器电桥两端产生了交流信号,信号幅度大小与流经传感器的气体流量成正比,而与待测组分的浓度成反比。
微流量传感器中有两个被加热到大约120℃的镍格栅,这两个镍格栅电阻和两个辅助电阻形成惠斯通电桥。脉冲气流反复流经微流量传感器,导致镍格栅电阻阻值发生变化。
接收气室采用串联型结构是为了消除干扰组分对测量结果的影响。在接收气室中,除填充待测组分外,还根据被测气体的组成填充一定比例的干扰组分。干扰组分在第一、二两层气室中对红外辐射的吸收,产生的压力作用方向相反,相互抵消。在ULTRAMAT23产品中,还设有第三层接收气室12,其功能是延长二层气室的光程长度,吸收红外辐射边缘能量,并可通过滑片调整三层气室的透光孔径大小,改变红外吸收,最大限度地减少某个干扰组分的影响,作用相当于一个可调光锥。
(1)双光路的微流量红外气体分析器稳定性好,可以在线使用。
(2)灵敏度高,可以分析微量气体。
(3)检测器结构简单,成本低廉。
(4)检测器可以串联使用,适合同时分析多种组分。
(5)检测器不怕振动,振动对仪器测量无影响。
(1)武汉四方光电子有限公司的微流量红外气体分析器Gasboard-3000型(新产品),检测器为该公司自主研发,可以实现多组分测量。
(2)西门子公司的ULTRAMAT6型红外气体分析器,双光路结构,适合在线使用;ULTRAMAT23型红外气体分析器,单光路结构,检测器可以串联,实现多组分测量。
(3)富士电机的ZRE型微流量红外气体分析器;横河电机的IR100型和IR200型微流量红外气体分析器。
(4)Rosemount的X-Stream通用型气体分析器X2GP。
(5)德国BUHLER公司,北京雪迪龙公司和成都倍诚公司也生产微流量红外气体分析器,微流量检测器采用西门子产品。