电子百科

对于耗尽型的JFET,在平衡时(不加电压)时,沟道电阻最小;电压Vds和Vgs都可改变栅p-n结势垒的宽度,并因此改变沟道的长度和厚度(栅极电压使沟道厚度均匀变化,源漏电压使沟道厚度不均匀变化),使沟道电阻变化,从而导致Ids变化,以实现对输入信号的放大。
当Vds较低时,JFET的沟道呈现为电阻特性,是所谓电阻工作区,这时漏极电流基本上随着电压Vds的增大而线性上升,但漏极电流随着栅极电压Vgs的增大而平方式增大;进一步增大Vds时,沟道即首先在漏极一端被夹断,则漏极电流达到最大而饱和(饱和电流搜大小决定于没有被夹断的沟道的电阻),这就是JFET的饱和放大区,这时JFET呈现为一个恒流源。
JFET的放大作用可用所谓跨导gm = δIds / δVgsS ](Vds =常数) 来表示,要求跨导越大越好。
N沟道和P沟道结型场效应管的工作原理完全相同,现以N沟道结型场效应管为例,分析其工作原理。

N沟道结型场效应管工作时,也需要外加如图1所示的偏置电压,即在栅-源极间加一负电压(vGS<0),使栅-源极间的P+N结反偏,栅极电流iG≈0,场效应管呈现很高的输入电阻(高达108W左右)。在漏-源极间加一正电压(vDS>0),使N沟道中的多数载流子电子在电场作用下由源极向漏极作漂移运动,形成漏极电流iD。iD的大小主要受栅-源电压vGS控制,同时也受漏-源电压vDS的影响。因此,讨论场效应管的工作原理就是讨论栅-源电压vGS对漏极电流iD(或沟道电阻)的控制作用,以及漏-源电压vDS对漏极电流iD的影响。
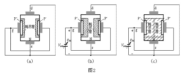
vGS对iD的控制作用

图2所示电路说明了vGS对沟道电阻的控制作用。为便于讨论,先假设漏-源极间所加的电压vDS=0。当栅-源电压vGS=0时,沟道较宽,其电阻较小,如图2(a)所示。当vGSGS| 的增加,耗尽层将主要向N沟道中扩展,使沟道变窄,沟道电阻增大,如图2(b)所示。当|vGS| 进一步增大到一定值|VP| 时,两侧的耗尽层将在沟道中央合拢,沟道全部被夹断,如图2(c)所示。由于耗尽层中没有载流子,因此这时漏-源极间的电阻将趋于无穷大,即使加上一定的电压vDS,漏极电流iD也将为零。这时的栅-源电压称为夹断电压,用VP表示。
①是电压控制器件,则不需要大的信号功率。
②是多数载流子导电的器件,是所谓单极晶体管,则无少子存储与扩散问题,速度高,噪音系数低;而且漏极电流Ids的温度关系决定于载流子迁移率的温度关系,则电流具有负的温度系数,器件具有自我保护的功能。
③输入端是反偏的p-n结, 则输入阻抗大, 便于匹配。
④输出阻抗也很大, 呈现为恒流源,这与BJT大致相同。
⑤JFET一般是耗尽型的,但若采用高阻衬底, 也可得到增强型JFET(增强型JFET在高速、低功耗电路中很有应用价值);但是一般只有短沟道的JFET才是能很好工作的增强型器件。实际上,静电感应晶体管也就是一种短沟道的JFET。
⑥沟道是处在半导体内部,则沟道中的载流子不受半导体表面的影响,因此迁移率较高、噪声较低。