0
问答首页 最新问题 热门问题 等待回答标签广场
我要提问

开关电源电路直流电路

直流稳压电源电路

直流稳压电源电路
提问者:pu76543 地点:- 浏览次数:7100 提问时间:03-09 07:06
我有更好的答案
提 交
1条回答
平凡的世界12 03-10 12:09

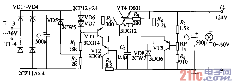
20.直流稳压电源电路.gif


 直流稳压电源由整流、滤波、放大、稳压、取样电路组成,最后输出o—sov电压,供给光电控制电路,如图

撰写答案
提 交
1 / 3
1 / 3
相关开关电源电路
TEA1753T开关电源应用电路
TH-1024S集线器开关电源电路图
24V开关电源原理电路图
谁有开关电源电路原理图
一种UC3842设计的PWM开关电源电路
相关直流电路
直流功率计电路图
直流伺服恒流功放电路图
交直流两用功放电路制作
纯直流场效应管功放电路原理图
直流电机的可逆原理