电子百科

软启动器面板上通常设有可调控制参数:软启动时间、启动初始电压、启动电流限制、软停时间、软停级落电压(泵停止功能) 、脉动突跳启动(针对突变负载)功能,实际运行可根据工程中设备电机具体情况结合软启动器说明说设定或选用。
设计旁路接触器 KM 是考虑以下几个方面:不带旁路可引入电流闭环控制在负载较轻或空载时自动降底电机激磁电流,使无功电流下降,提高功率因素实现节能功能,空载时可节能近 40%(可以有效解决“大马拉小车”状态下电机本体的电能浪费问题) ;但不是所有负载都应不带旁路,对于满载状态节能效果并不显着,所以对于经常满载的应用场合建议设计带旁路;带旁路设计时,晶闸管仅在启停时使用,运行时晶闸管停用,可使晶闸管寿命延长;另外从散热角度考虑,可以减小软启动体积。
软启动器还可以内置一拖多专用程序控制器选件,装于软起动器内部,实现时间控制、联锁、互锁功能 ,可控制多台电机的分别起动送上电网运行。电机可不分先后,任意起动,自动避免二台以上电机同时起动。一台电机起动后延时时间没到,其他电机也不能起动。
安装工艺流程:

软启动器安装->主回路端子接线->控制回路接线->启动参数设定->模拟试验->带负荷试运行
软启动器安装位置选择防尘、 散热条件较好的位置安装; 安装时应按说明书考虑空间与周边环境最小距离。
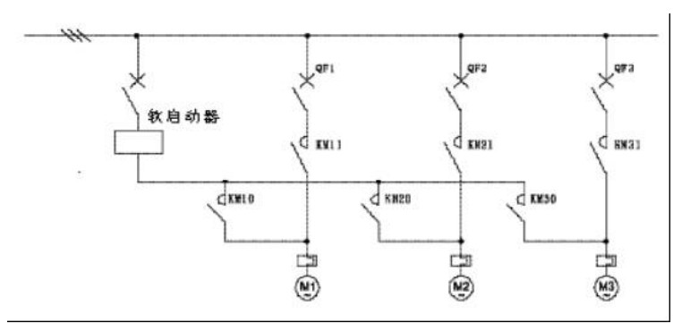
主回路端子接线可分为内接式和外接式(见图 )两种, 施工时按设计图纸连接电机与软启动器接线。
通常配电盘柜的控制回路已连接完整,用万用表对照图纸检查控制线路;注意不可用绝缘摇表检测控制线路绝缘电阻,以免损坏软启动器内电子元件。
软启动器不能作空负载模拟动作试验,因为空负载没有电流电压输出,继电保护会误动作;应带轻负载试验,检测软启动器参数设置是否符合设计要求;在此推荐工程现场一个经济简便方法:可利用三个 200W 白炽灯泡模拟电机三相绕组作为试验的轻负载。
试运行阶段注意实际测量值与设定值有无偏差,分析产生偏差原因不断调整,直至符合要求;并做好相应检测记录和运行报告。
1、在线运行软启动器:
在上个世纪,软启动器产品主要是国外的品牌,在中国市场上销售,如:A-B;ABB、施奈德、西门子等,但他们都是在线运行方式。在应用过程当中,人们发现在线运行有以下缺点:1、可控硅长期在线运行功耗太大造成能源浪费。2、可控硅的散热量太大需要机械风冷,给成套带来很大困难。3、可控硅长期在线运行给电网带来高次谐波污染。4、可控硅作为主开关元件长期工作其可靠性远低于机械开关。5、造价昂贵用户难以接受。6、由于可控硅选型较大和考虑散热所以体积较大。它的优点:1、是对电动机的启动与保护及其控制集于一体,强大的智能控制器全部发挥作用。2、是由于采用了机械风冷能够适用频繁启动场所。3、是电路简单便于维护和检修。
2、旁路运行软启动器:
到了上世纪末和本世纪开始,考虑在线运行的缺点和技术难度性,国内厂家就直接开发了旁路型软启动器,即电动机起动完成后旁路到接触器上运行。它的优点是回避了可控硅在线运行的缺点,尤其不需要机械风冷。但是,它同时带来缺点:1、电路复杂化,系统可靠性降低,2、强大的智能控制器不能充分利用,有的不能对电动机保护。3、增加成套装置的体积和成本。4、增加维护与检修的难度。综合比较后市场上还是多数采用了旁路运行方式,即便是选用了在线运行方式的软启动器,设计人员还是加装一套旁路运行接触器,使软启动器旁路运行。回避了可控硅在线运行的缺陷。
3、内置可控硅旁路型在线运行软启动器:
在2003年汉森堡国际电工产品技术博览会上,德国的默勒公司和ABB公司(仅限于200KW以上)推出了内置可控硅旁路型在线运行软启动器,2004年天津诺尔哈顿电器制造有限公司(中美合资)开发出了15~400KW的内置可控硅旁路型在线运行软启动器。现在国内外许多电器公司都在开发内置可控硅旁路型在线运行软启动器。内置可控硅旁路型在线运行软启动器(简称内置旁路型软启动器),是在在线运行软启动器内部设置了一套机械触头与可控硅并联,在电机软启动过程和软停车过程中由可控硅运行,机械触头断开,当电动机正常运行时可控硅关闭,机械触头闭合。这套动作过程是通过内部控制器自动完成的,对外部接线来讲是一个装置,所以称做在线运行。它又可称作旁路型的软启动器将外边的接触器移到了软启动器里边集成为一体并能保证体积不增加。它的优点是具备上述两种类型的所有优点同时回避了它们各自的缺点:1、电路简单。2、自然风冷。3、可控硅只管启动和停车,回避可控硅在线运行所带来的功耗与散热。4、体积小(和旁路型的一般大小)。5、强大智能控制器得以全面发挥,能对电动机起到起停与保护及其控制。6、节省成套空间。7、由于可控硅和机械触头组合一体的设计,通过智能控制器实现了机械触头无电弧,使的机械触头的电寿命等于机械寿命,解决了接触器长期以来难以解决的问题,与旁路型相比大大提高了系统可靠性。8、节能,此节能是指软启动器本身,与可控硅在线型相比可忽略不计。与旁路型相比减少60%,其原因是由于内置旁路型的机械触头采用了无电弧控制,其银点的硬度大大降低,触点的接触电阻大大降低,使得机械触头的闭合压力大大降低,机械触头的吸合磁力机构减小一半,降低一半能耗,机械触头的触点能耗也降低了一半,综合起来机械触头与磁力机构的能耗与旁路接触相比降低一半,再加上节省热继电器的能耗所以与之旁路型相比综合起来能节省60%。
由上述对于软启动器原理及其优缺点分析,应该是内置旁路型的适用性最强,优点最多,缺点最少。在实际工作当中还要考虑具体产品品牌的功能和技术参数以及产品的可考性,根据实际使用情况进行选择。在此有必要区分的是频繁启动和不频繁启动,对于软启动器来讲,一般情况下如果启动间隔时间不超过2分钟每小时不超过30次,即可定为不频繁启动。小于此数应按频繁启动考虑。风机泵类负荷一般都属于不频繁启动。机械传动有频繁启动的也有不频繁启动的,象皮带机、球磨机等可按不频繁启动考虑,如果是起动机或大型机械设备所配的电动机需要可逆功能的多属于频繁启动。
在频繁工作的场所选取软启动器要按电动机的起动电流选取,因为软启动器生产厂家一般选取的可控硅电流是电动机额电流的2.5倍。限制最大电动机启动电流是额定电流的4.5倍,在不频繁操作下充分利用可控硅短时过载能力,所以在频繁启动的条件下,应加大选取软启动器的容量,根据频繁度的不同取在1.2~1.5倍即可。同时由于可控硅频繁工作,为了排除可控硅散发的大量的热量,软启动器必需带有机械风冷。对于机械风冷的软启动装置,一台开关柜最好放一台软启动装置,而且开关柜也要设置机械通风。
1、在线型:
所有软启动器的控制器都有电动机过载保护,当软启动器在线运行时软启动器的控制器能对电机进行过载保护,不要加装热过载继电器。由于经过可控硅后的电流谐波电流非常大,所以不能加装电子式热过载继电器,否则热继的误动作使系统不能正常工作。由于可控硅比较昂贵而且更换困难,为了保护可控硅要用快速熔断器防止软启动器下口发生短路烧毁可控硅,图4A是指在经常使用的场所,软起动器的上口不加接触器,图4B是指不经常使用的场所,在停车后将软启动器的电源断开。
2、旁路型
旁路运行软启动器,离开旁路接触器是无法运行的,所以在两种主接线方案里都有。对于软启动器上口的接触器的作用和在线运行方式下作用相同在此不再重复。着重说明的是热继电器,把它安方在旁路接触器的下口,不通过起动电流最好,尤其是电子热继电器,由于经过软启动器后电流谐波很大能干扰电子热继电器误动作而使电机停车。另外因为可控硅的短时工作没必要安装快速熔断器,所以在主结线方案里没有加装快速熔断器。
3、内置旁路型
它的主接线和在线型的大致相同,唯一的优点是因为可控硅的短时工作没必要安装快速熔断器。
电动机的过载保护是有软启动器的控制器实现的,它不仅在功能和性能上超过电子热继电器,而且不会因主回路的谐波电流及外界的干扰而误动作。
目前国内的软起动器生产厂家很多,大都是旁路型的,产品的可靠性与世界知名品牌相比差距越来越小,市场份额已经超过国外品牌。本人多年来从事软启动的应用和研究,在大量的实践中得到了一些体会,在此与大家分享。软启动器的故障大体分如下几种:
1、电动机起不来:
电动机起不来的原因大致分两种情况:一是六只可控硅的其中一只触发不可靠或是不导通,此时一相电路通过的是半波直流,电动机的两相绕组通过的直流对电动机起到了制动作用,不仅电机起不来,严重的还会烧毁电机和可控硅。二是启动参数或启动曲线不合适造成电机起不来,这是常见故障。前者在使用过程当中会发生,但几率低于接触器的故障率。后者多发生在第一次投运调试,调试好以后就不会出现。多数的厂家不会出现此现象,启动程序性能好,出厂值设定的适用性强。只有很少厂家的产品需要厂家自己去调试。
2、可控硅烧毁:
可控硅击穿或爆炸,此类故障不分国内外品牌,因厂家而易,但都比接触器的故障率低,而且主要问题出现在饼式可控硅的安装工艺上。
3、控制器烧损:
相对于软启动器来讲,控制器烧毁故障是最严重的。有的厂家此类故障造成的返修率已超过30%。进口的或合资的厂家此类问题不多见。主要是控制器的电源和触发电路以及输入电路三部分容易烧毁。
4、软启动器误动作:
电动机在运行的装态下因软起动器受干扰而停机在停止状态下因软起动器受干扰而起动是时有发生,前者较普遍,后者只有两个品牌发生过。究其原因,一是产品质量问题,二是和线路布局有关。但是凡是进口或合资的软启都没有上述现象,国产品牌中此问题比较多。
5、软启动器内部插接件接触不良
软启动器内部插接件选用本来不是问题,这是国内厂家容易忽略的问题,经常出现故障。进口或合资厂家都不犯此类的错误。