电子百科

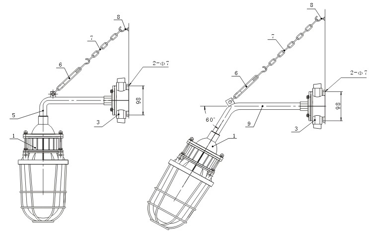
1、防爆灯由壳体、钢化玻璃罩、保护网等组成;
2、壳体采用ZL102铸铝压铸成形,表面粉末静电喷塑,具有结构轻巧,强度高,造型美观等特点;
3、内部导线采用无线连接,保证产品在任何情况下都能良好接触;
4、防爆灯内外均设计多条散热片,在保证独特造型的同时大大加强了产品的散热功能,大大提高了产品的寿命,温度级别为T4;
5、隔爆面全部采用螺纹隔爆且增加了密封结构,使产品在满足防爆性能的同时大大提高了防水防尘功能,防护等级高达IP55;
6、防爆灯设计为一体式(内装镇流器、触发器、电容补尝器),具有光效强(功率因数高达95%),使用、维护方便等优点;
7、内装有E40灯座,可分别装高压汞灯、高压钠灯和金属卤灯灯泡,有吊杆式、吸顶式安装方式;
8、导线通过引入装置进入接线腔,壳内外设有接地螺丝,钢管或电缆布线均可。
1、适用于Ⅱ类(除煤矿外的其他爆炸性气体环境用电气设备)含有ⅡA、ⅡB、IIC级;
2、温度级别为T1-T4的爆炸性气体环境的1区和2区危险场所;
3、在交流50HZ、电压至220V的线路中,作厂房等场所照明之用