0
问答首页 最新问题 热门问题 等待回答标签广场
我要提问

电子百科

单电源差动放大器

单电源差动放大器

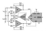
单电源差动放大器技术指标

  •   电源电压:+3.0 V至+36 V

      反相电压保护:-34 V

      峰值输入电压(40 ms):60 V

      内置瞬变尖峰保护功能和RFI滤波器

      工作温度范围:-40°C至+125°C

单电源差动放大器特性

  •   1、输出范围:20 mV至(VS - 0.2) V

      2、输入共模范围:地电压以下至6× (VS - 1 V)

      3、增益:×20,可变范围:×1至×160

      4、400 kΩ差分输入电阻

      5、精确的中量程失调能力

      6、提供单极/双极/三极低通滤波

      7、将1kΩ负载驱动至+4 V (VS = +5 V)

提问者:西安易珀电气技术有限公司 地点:- 浏览次数:9857 提问时间:10-19 21:04
我有更好的答案
提 交
撰写答案
提 交
1 / 3
1 / 3
相关电子百科
硅胶板
3D晶体管
双极性晶体管
晶体管时间继电器
导热硅胶垫