电子百科

(一)按CMM的技术水平分类
1.数字显示及打印型:这类CMM主要用于几何尺寸测量,可显示并打印出测得点的坐标数据,但要获得所需的几何尺寸形位误差,还需进行人工运算,其技术水平较低,目前已基本被陶汰。
2.带有计算机进行数据处理型:这类CMM技术水平略高,目前应用较多。其测量仍为手动或机动,但用计算机处理测量数据,可完成诸如工件安装倾斜的自动校正计算、坐标变换、孔心距计算、偏差值计算等数据处理工作。
3.计算机数字控制型:这类CMM技术水平较高,可像数控机床一样,按照编制好的程序自动测量。
(二)按CMM的测量范围分类:
1.小型坐标测量机:这类CMM在其最长一个坐标轴方向(一般为X轴方向)上的测量范围小于500mm,主要用于小型精密模具、工具和刀具等的测量。
2.中型坐标测量机:这类CMM在其最长一个坐标轴方向上的测量范围为500~2000mm,是应用最多的机型,主要用于箱体、模具类零件的测量,在工业现场得到广泛应用,如图1.8所示。3.大型坐标测量机:这类CMM在其最长一个坐标轴方向上的测量范围大于2000mm,主要用于汽车与发动机外壳、航空发动机叶片等大型零件的测量,如图1.9所示的大型龙门式坐标测量机。
(三)按CMM的精度分类:1.精密型CMM其单轴最大测量不确定度小于1×10-6L(L为最大量程,单位为mm),空间最大测量不确定度小于(2~3)×10-6L,一般放在具有恒温条件的计量室内,用于精密测量。2.中低精度CMM:低精度CMM的单轴最大测量不确定度大体在1×10-4L左右,空间最大测量不确定度为(2~3)×10-4L,中等精度CMM的单轴最大测量不确定度约为1×10-5L,空间最大测量不确定度为(2~3)×10-5L。这类CMM一般放在生产车间内,用于生产过程检测。
(四)按CMM的结构形式分类按照结构形式,CMM可分为移动桥式、固定桥式、龙门式、悬臂式、立柱式等。
一、结构形式三坐标测量机是由三个正交的直线运动轴构成的,这三个坐标轴的相互配置位置(即总体结构形式)对测量机的精度以及对被测工件的适用性影响较大。
移动桥式结构,它是目前应用最广泛的一种结构形式,其结构简单,敞开性好,工件安装在固定工作台上,承载能力强。但这种结构的X向驱动位于桥框一侧,桥框移动时易产生绕Z轴偏摆,而该结构的X向标尺也位于桥框一侧,在Y向存在较大的阿贝臂,这种偏摆会引起较大的阿贝误差,因而该结构主要用于中等精度的中小机型。
固定桥式结构,其桥框固定不动,X向标尺和驱动机构可安装在工作台下方中部,阿贝臂及工作台绕Z轴偏摆小,其主要部件的运动稳定性好,运动误差小,适用于高精度测量,但工作台负载能力小,结构敞开性不好,主要用于高精度的中小机型。中心门移动式结构,结构比较复杂,敞开性一般,兼具移动桥式结构承载能力强和固定桥式结构精度高的优点,适用于高精度、中型尺寸以下机型。龙门式结构,它与移动桥式结构的主要区别是它的移动部分只是横梁,移动部分质量小,整个结构刚性好,三个坐标测量范围较大时也可保证测量精度,适用于大机型,缺点是立柱限制了工件装卸,单侧驱动时仍会带来较大的阿贝误差,而双侧驱动方式在技术上较为复杂,只有Y向跨距很大、对精度要求较高的大型测量机才采用。悬臂式结构,结构简单,具有很好的敞开性,但当滑架在悬臂上作Y向运动时,会使悬臂变形发生变化,故测量精度不高,一般用于测量精度要求不太高的小型测量机。
单柱移动式结构,也称为仪器台式结构,它是在工具显微镜的结构基础上发展起来的。其优点是操作方便、测量精度高,但结构复杂,测量范围小,适用于高精度的小型数控机型。单柱固定式结构,它是在坐标镗的基础上发展起来的。其结构牢靠、敞开性较好,但工件的重量对工作台运动有影响,同时两维平动工作台行程不可能太大,因此仅用于测量精度中等的中小型测量机。
横臂立柱式结构,也称为水平臂式结构,在汽车工业中有广泛应用。其结构简单、敞开性好,尺寸也可以较大,但因横臂前后伸出时会产生较大变形,故测量精度不高,用于中、大型机型。横臂工作台移动式结构,其敞开性较好,横臂部件质量较小,但工作台承载有限,在两个方向上运动范围较小,适用于中等精度的中小机型。现在一些便携式坐标测量机,如关节臂式坐标测量机激光跟踪干涉仪等先进仪器。
二、工作台:早期三坐标的工作台是由铸铁或铸钢制成,但近年来广泛采用花岗岩来制造工作台,这是因为花岗岩变形小稳定性好、耐磨损、不生锈,且价格低廉、易于加工。有些测量机装有可升降的工作台,以扩大Z轴的测量范围,还有些测量机备有旋转工作台,以扩大测量功能。
三、导轨:导轨是测量机的导向装置,直接影响测量机的精度,因而要求其具有较高的直线性精度。在三坐标测量机上使用的导轨有滑动导轨、滚动导轨和气浮导轨,但常用的为滑动导轨和气浮导轨,滚动导轨应用较少,因为滚动导轨的耐磨性较差,刚度也较滑动导轨低。在早期的三坐标测量机中,许多机型采用的是滑动导轨。滑动导轨精度高,承载能力强,但摩擦阻力大,易磨损,低速运行时易产生爬行,也不易在高速下运行,有逐步被气浮导轨取代的趋势。目前,多数三坐标测量机已采用空气静压导轨(又称为气浮导轨、气垫导轨),它具有许多优点,如制造简单、精度高、摩擦力极小、工作平稳等。
三坐标测量机的测量系统由标尺系统和测头系统构成,它们是三坐标测量机的关键组成部分,决定着CMM测量精度的高低。
一、标尺系统:是用来度量各轴的坐标数值的,目前三坐标测量机上使用的标尺系统种类很多,它们与在各种机床和仪器上使用的标尺系统大致相同,按其性质可以分为机械式标尺系统(如精密丝杠加微分鼓轮,精密齿条及齿轮,滚动直尺)、光学式标尺系统(如光学读数刻线尺,光学编码器,光栅,激光干涉仪)和电气式标尺系统(如感应同步器,磁栅)。根据对国内外生产CMM所使用的标尺系统的统计分析可知,使用最多的是光栅,其次是感应同步器和光学编码器。有些高精度CMM的标尺系统采用了激光干涉仪。
二、测头系统:(一)测头: 三坐标测量机是用测头来拾取信号的,因而测头的性能直接影响测量精度和测量效率,没有先进的测头就无法充分发挥测量机的功能。在三坐标测量机上使用的测头,按结构原理可分为机械式、光学式和电气式等;而按测量方法又可分为接触式和非接触式两类。
1.机械接触式测头:机械接触式测头为刚性测头,根据其触测部位的形状,可以分为圆锥形测头、圆柱形测头、球形测头、半圆形测头、点测头、V型块测头等如图1所示。这类测头的形状简单,制造容易,但是测量力的大小取决于操作者的经验和技能,因此测量精度差、效率低。目前除少数手动测量机还采用此种测头外,绝大多数测量机已不再使用这类测头。


(a) 圆锥形测头 (b) 圆柱形测头 (c) 球形测头 (d) 半圆形测头 (e) 点测头 (f) V型块测头
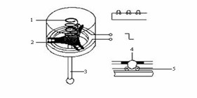
2.电气接触式测头电气接触式测头目前已为绝大部分坐标测量机所采用,按其工作原理可分为动态测头和静态测头。
(1)动态测头:常用动态测头的结构如图2所示。测杆安装在芯体上,而芯体则通过三个沿圆周1200分布的钢球安放在三对触点上,当测杆没有受到测量力时,芯体上的钢球与三对触点均保持接触,当测杆的球状端部与工件接触时,不论受到X、Y、Z哪个方向的接触力,至少会引起一个钢球与触点脱离接触,从而引起电路的断开,产生阶跃信号,直接或通过计算机控制采样电路,将沿三个轴方向的坐标数据送至存储器,供数据处理用。
测头是在触测工件表面的运动过程中,瞬间进行测量采样的,故称动态测头,也称触发式测头。动态测头结构简单、成本低,可用于高速测量,但精度稍低,而且动态测头不能以接触状态停留在工件表面,因而只能对工件表面作离散的逐点测量,不能作连续的扫描测量。
(2)静态测头:静态测头除具备触发式测头的触发采样功能外,还相当于一台超小型三坐标测量机。测头中有三维几何量传感器,在测头与工件表面接触时,在X、Y、Z三个方向均有相应的位移量输出,从而驱动伺服系统进行自动调整,使测头停在规定的位移量上,在测头接近静止的状态下采集三维坐标数据,故称为静态测头。静态测头沿工件表面移动时,可始终保持接触状态,进行扫描测量,因而也称为扫描测头。其主要特点是精度高,可以作连续扫描,但制造技术难度大,采样速度慢,价格昂贵,适合于高精度测量机使用。
(3)光学测头:在多数情况下,光学测头与被测物体没有机械接触,这种非接触式测量具有一些突出优点,主要体现在:
1)由于不存在测量力,因而适合于测量各种软的和薄的工件;2)由于是非接触测量,可以对工件表面进行快速扫描测量;
3)多数光学测头具有比较大的量程,这是一般接触式测头难以达到的;
4)可以探测工件上一般机械测头难以探测到的部位。近年来,光学测头发展较快,目前在坐标测量机上应用的光学测头的种类也较多,如三角法测头、激光聚集测头、光纤测头、体视式三维测头、接触式光栅测头等。下面简要介绍一下三角法测头的工作原理。
(4)激光扫描测头;激光测量探头一般是以三角法测量原理为主
(二)测头附件:为了扩大测头功能、提高测量效率以及探测各种零件的不同部位,常需为测头配置各种附件,如测端、探针、连接器、测头回转附件等。
1.测端: 对于接触式测头,测端是与被测工件表面直接接触的部分。对于不同形状的表面需要采用不同的测端。

图a为球形测端,是最常用的测端。它具有制造简单、便于从各个方向触测工件表面、接触变形小等优点。
图b为盘形测端,用于测量狭槽的深度和直径。图c为尖锥形测端,用于测量凹槽、凹坑、螺纹底部和其它一些细微部位。
图d为半球形测端,其直径较大,用于测量粗糙表面。图e为圆柱形测端,用于测量螺纹外径和薄板。(a)球形测端 (b)盘形测端 (c)尖锥形测端 (d)半球形测端 (e) 圆柱形
2.探针:探针是指可更换的测杆。在有些情况下,为了便于测量,需选用不同的探针。探针对测量能力和测量精度有较大影响,在选用时应注意:
1)在满足测量要求的前提下,探针应尽量短;
2)探针直径必须小于测端直径,在不发生干涉条件下,应尽量选大直径探针;
3)在需要长探针时,可选用硬质合金探针,以提高刚度。若需要特别长的探针,可选用质量较轻的陶瓷探针。
3.连接器:为了将探针连接到测头上、测头连接到回转体上或测量机主轴上,需采用各种连接器。常用的有星形探针连接器、连接轴、星形测头座等。
4.回转附件:对于有些工件表面的检测,比如一些倾斜表面、整体叶轮叶片表面等,仅用与工作台垂直的探针探测将无法完成要求的测量,这时就需要借助一定的回转附件,使探针或整个测头回转一定角度再进行测量,从而扩大测头的功能。
常用的回转附件测头回转体。它可以绕水平轴A和垂直轴B回转,在它的回转机构中有精密的分度机构,其分度原理类似于多齿分度盘。在静盘中有48根沿圆周均匀分布的圆柱,而在动盘中有与之相应的48个钢球,从而可实现以7.5o为步距的转位。它绕垂直轴的转动范围为360o,共48个位置,绕水平轴的转动范围为0o~105o,共15个位置。由于在绕水平轴转角为0o(即测头垂直向下)时,绕垂直轴转动不改变测端位置,这样测端在空间一共可有48×14+1=673个位置。能使测头改变姿态以扩展从各个方向接近工件的能力。
一、控制系统的功能:控制系统是三坐标测量机的关键组成部分之一。其主要功能是:读取空间坐标值,控制测量瞄准系统对测头信号进行实时响应与处理,控制机械系统实现测量所必需的运动,实时监控坐标测量机的状态以保障整个系统的安全性与可靠性等。
二、控制系统的结构:按自动化程度分类,坐标测量机分为手动型、机动型和CNC型。早期的坐标测量机以手动型和机动型为主,其测量是由操作者直接手动或通过操纵杆完成各个点的采样,然后在计算机中进行数据处理。随着计算机技术及数控技术的发展,CNC型控制系统变得日益普及,它是通过程序来控制坐标测量机自动进给和进行数据采样,同时在计算机中完成数据处理。
1.手动型与机动型控制系统L 这类控制系统结构简单,操作方便,价格低廉,在车间中应用较广。这两类坐标测量机的标尺系统通常为光栅,测头一般采用触发式测头。其工作过程是:每当触发式测头接触工件时,测头发出触发信号,通过测头控制接口向CPU发出一个中断信号,CPU则执行相应的中断服务程序,实时地读出计数接口单元的数值,计算出相应的空间长度,形成采样坐标值X、Y和Z,并将其送入采样数据缓冲区,供后续的数据处理使用。
2.CNC型控制系统:CNC型控制系统的测量进给是计算机控制的。它可以通过程序对测量机各轴的运动进行控制以及对测量机运行状态进行实时监测,从而实现自动测量。另外,它也可以通过操纵杆进行手工测量。CNC型控制系统又可分为集中控制与分布控制两类。
(1)集中控制:由一个主CPU实现监测与坐标值的采样,完成主计算机命令的接收、解释与执行、状态信息及数据的回送与实时显示、控制命令的键盘输入及安全监测等任务。它的运动控制是由一个独立模块完成的,该模块是一个相对独立的计算机系统,完成单轴的伺服控制、三轴联动以及运动状态的监测。从功能上看,运动控制CPU既要完成数字调节器的运算,又要进行插补运算,运算量大,其实时性与测量进给速度取决于CPU的速度。
(2)分布式控制:\是指系统中使用多个CPU,每个CPU完成特定的控制,同时这些CPU协调工作,共同完成测量任务,因而速度快,提高了控制系统的实时性。另外,分布式控制的特点是多CPU并行处理,由于它是单元式的,故维修方便、便于扩充。如要增加一个转台只需在系统中再扩充一个单轴控制单元,并定义它在总线上的地址和增加相应的软件就可以了。
三、测量进给控制
手动型以外的坐标测量机是通过操纵杆或CNC程序对伺服电机进行速度控制,以此来控制测头和测量工作台按设定的轨迹作相对运动,从而实现对工件的测量。三坐标测量机的测量进给与数控机床的加工进给基本相同,但其对运动精度、运动平稳性及响应速度的要求更高。三坐标测量机的运动控制包括单轴伺服控制和多轴联动控制。单轴伺服控制较为简单,各轴的运动控制由各自的单轴伺服控制器完成。但当要求测头在三维空间按预定的轨迹相对于工件运动时,则需要CPU控制三轴按一定的算法联动来实现测头的空间运动,这样的控制由上述单轴伺服控制及插补器共同完成。在三坐标测量机控制系统中,插补器由CPU程序控制来实现。根据设定的轨迹,CPU不断地向三轴伺服控制系统提供坐标轴的位置命令,单轴伺服控制系统则不断地跟踪,从而使测头一步一步地从起始点向终点运动。
四、控制系统的通信
控制系统的通信包括内通信和外通信。内通信是指主计算机与控制系统两者之间相互传送命令、参数、状态与数据等,这些是通过联接主计算机与控制系统的通信总线实现的。外通信则是指当CMM作为FMS系统或CIMS系统中的组成部分时,控制系统与其它设备间的通信。目前用于坐标测量机通信的主要有串行RS-232标准与并行IEEE-488标准。
一、编程软件:测量程序的编制有以下几种方式。
(一)图示及窗口编程方式:图示及窗口编程是最简单的方式,它是通过图形菜单选择被测元素,建立坐标系,并通过“窗口”提示选择操作过程及输入参数,编制测量程序。该方式仅适用于比较简单的单项几何元素测量的程序编制。
(二)自学习编程方式
这种编程方式是在CNC测量机上,由操作者引导测量过程,并键入相应指令,直到完成测量,而由计算机自动记录下操作者手动操作的过程及相关信息,并自动生成相应的测量程序,若要重复测量同种零件,只需调用该测量程序,便可自动完成以前记录的全部测量过程。该方式适合于批量检测,也属于比较简单的编程方式。
(三)脱机编程
这种方式是采用三坐标测量机生产厂家提供的专用测量机语言在其它通用计算机上预先编制好测量程序,它与坐标测量机的开启无关。编制好程序后再到测量机上试运行,若发现错误则进行修改。其优点是能解决很复杂的测量工作,缺点是容易出错。
(四)自动编程
在计算机集成制造系统中,通常由CAD/CAM系统自动生成测量程序。三坐标测量机一方面读取由CAD系统生成的设计图纸数据文件,自动构造虚拟工件,另一方面接受由CAM加工出的实际工件,并根据虚拟工件自动生成测量路径,实现无人自动测量。这一过程中的测量程序是完全由系统自动生成的。
二、测量软件包
测量软件包可含有许多种类的数据处理程序,以满足各种工程需要。一般将三坐标测量机的测量软件包分为通用测量软件包和专用测量软件包。通用测量软件包主要是指针对点、线、面、圆、圆柱、圆锥、球等基本几何元素及其形位误差、相互关系进行测量的软件包。通常各三坐标测量机都配置有这类软件包。专用测量软件包是指坐标测量机生产厂家为了提高对一些特定测量对象进行测量的测量效率和测量精度而开发的各类测量软件包。
三、系统调试软件
用于调试测量机及其控制系统,一般具有以下软件。
(1)自检及故障分析软件包:用于检查系统故障并自动显示故障类别;
(2)误差补偿软件包:用于对三坐标测量机的几何误差进行检测,在三坐标测量机工作时,按检测结果对测量机误差进行修正;
(3)系统参数识别及控制参数优化软件包:用于CMM控制系统的总调试,并生成具有优化参数的用户运行文件;
(4)精度测试及验收测量软件包:用于按验收标准测量检具。
四、系统工作软件:测量软件系统必须配置一些属于协调和辅助性质的工作软件,其中有些是必备的,有些用于扩充功能。
(1)测头管理软件:用于测头校准、测头旋转控制等; (2)数控运行软件:用于测头运动控制; (3)系统监控软件:用于对系统进行监控(如监控电源、气源等);(4)编译系统软件:用此程序编译,生成运行目标码; (5)DMIS接口软件:用于翻译DMIS格式文件;(6)数据文件管理软件:用于各类文件管理; (7)联网通讯软件:用于与其他计算机实现双向或单向通讯。