手动换向阀
手动换向阀的工作原理
-
工作时手上操作产生的推力借着阀外的驱动传动机构转动驱动轴,带动摇拐臂,启动阀板,使工作流体时而从左入口通向阀的下部出口,时而从右入口变换通向下部出口,实现了周期变换流向的目的。
手动换向阀的构成
-
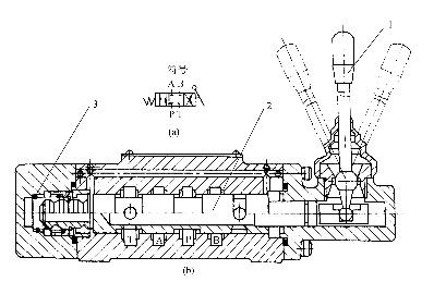
手动换向阀由:1、手柄,2、阀芯,3、弹簧构成。

手动换向阀的技术参数
-
公称通径(mm)50~150
适用温度(℃)室温~80
公称压力(MPa)1.0
适用介质润滑油
连接形式法兰
强度试验压力(MPa)1.5
密封试验压力(MPa)1.1
耐压试验温度(℃)常温
手动换向阀的应用
-
手动换向阀在石油、化工生产中有着广泛的应用,在合成氨造气系统中最为常用。此外,换向阀还可作成阀瓣式的结构,多用于较小流量的场合。工作时只需转动手轮通过阀瓣来变换工作流体的流向。
提问者:wrsffwrss
地点:-
浏览次数:6085
提问时间:04-18 12:22
我有更好的答案