0
问答首页 最新问题 热门问题 等待回答标签广场
我要提问

电子百科

单向节流阀

单向节流阀的定义

  •   单向节流阀又称逆止阀,是一种防止阀中介质反向流动的阀门。

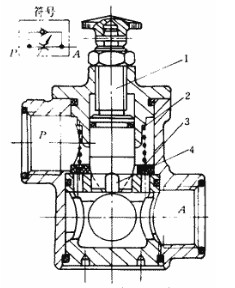
    单向节流阀

单向节流阀的原理

  •   单向节流阀的原理如图。它是由单向阀和节流阀并联而成的组合控制阀。当气流由P口向A口流动时,经过节流阀节流,反方向流动,即由A向P流动时,单向阀打开,不节流。

    单向节流阀原理图

单向节流阀的性能要求

  •   1.流量调节范围大,流量一压差变化平滑;

      2.内泄漏量小,若有外泄漏油口,外泄漏量也要小;

      3.调节力矩小,动作灵敏。

单向节流阀的分类

  •   单向节流阀按启闭件的形状分,有针形、沟形和窗形三种;按通道方式可分为直通式和角式两种。

减轻节流口堵塞的措施

  •   1.选择水力半径大的薄刃节流口。

      2.适当降低节流口前后的压差。

      3.精密过滤并定期更换油液。

      4.采用电位差较小的金属材料、选用抗氧化稳定性好的油液、减小节流口表面粗糙度。

提问者:miaoye 地点:- 浏览次数:6874 提问时间:04-10 06:34
我有更好的答案
提 交
撰写答案
提 交
1 / 3
1 / 3
相关电子百科
硅胶板
3D晶体管
双极性晶体管
晶体管时间继电器
导热硅胶垫