0
问答首页 最新问题 热门问题 等待回答标签广场
我要提问

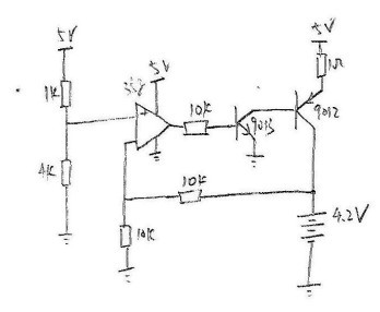
铅酸电池充电



上面的电路是给4.2V的铅酸电池充电,电路充电可以冲但是我冲了大概4个小时左右电压不会上去,也没有见到充满保护的状态,请假大家看看有没有错误的地方和改进的地方 谢谢
提问者:沈文强66 地点:- 浏览次数:8190 提问时间:05-02 15:08
我有更好的答案
提 交
10条回答
chm2 05-06 05:22
你仿真下你的原理图看看,图片看不清
adolclistin 05-12 02:40
感觉好像少了个输入电阻,不是太清楚啊!
77uwfsdf 05-07 13:40
你输出电压多少呢 ?
guigui_7044 05-06 21:04
LZ,首先,你应该知道铅酸电池充电过程:1、预充阶段:充电机启动后首先进入预充阶段,先设小电流恒流充电,目的是激活电池,对电池预热,避免冷态对电池损害,提高电池充电可接受能力。
2、大电流阶段:预充结束后进入恒流大电流充电阶段。
3、恒压阶段:充电池电压冲到设定值时,充电电流减小,继续恒流充电,同时检测电池电压。
4、小电流阶段:当电池电压再次上升到设定值时,充电电流再次减小,继续恒流充电。反复以上充电过程。
5、脉冲阶段:当充电电流减小到设定值时,充电机认为电池已经充满,停止充电。
6、浮充阶段:如果是无人值守电池充电,当电池电压下降到设定值时,充电机进入下一个充电循环。
所以,你这电池的电压上不来的话应该是对电池的充电电流不够吧!电流I=4.2/20*1000=0.21mA,调节一下面的那两个10K电阻看看。
你的电路理论还是可以,但是还得加上电池的保护电路,不然对电池有严重的伤害。
XWM4612 05-12 12:43
谢谢大家的帮助,这个电路我已经搭好测试过,测试过程如下:我设定的358正端电压为2.1V,我的电池充满电电压在4.2V左右,所以我想在电池4.2V的时候不给电池充电。但是我现在测试过来,当电压较低时充电电流可达120MA左右,但是等我电池电压慢慢上去以后电流下降的比较的厉害 ,在3.7V左右的时候只有50MA的电流这样的话  充电充满时间就太久了的。不知道这个电路还有哪些地方需要修改或是本身电池就是这样的充电方式
脑洞大赛5 05-06 15:33
我的比较器用的是LM358网上查了一下说这个芯片做比较器不是很好,不知道是不是也有关系
脑洞大赛5 05-07 18:55
个人意见,你这个电路如果想给2格铅酸电池,那么电源电压已经不够了吧.
nvywerwer 05-07 02:24
9013集电极和9012发射极之间串个电阻,估计就正常了
Elva_chen 05-11 22:01
楼主试试9楼的讲法,把结果公布一下,我们一起学习一下。
充电搜索 05-09 11:24
你这个电路,电压最高充电到4V,即同运放正输入端基准相同。9012跟9013之间加一个电阻。
撰写答案
提 交
1 / 3
1 / 3