0
问答首页 最新问题 热门问题 等待回答标签广场
我要提问

电源电路过流保护电路电源

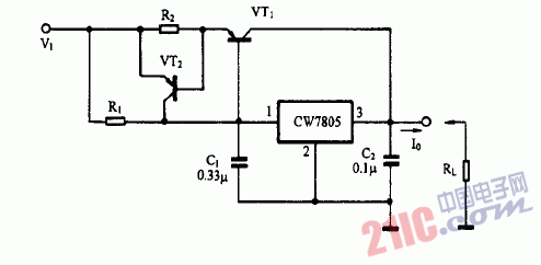
巧用CW7805作过流保护输出稳压电源电路图

巧用CW7805作过流保护输出稳压电源电路图
提问者:胡bbs1 地点:- 浏览次数:6911 提问时间:04-17 15:17
我有更好的答案
提 交
1条回答
飞翔的贝壳 04-18 16:14

 

巧用CW7805作过流保护输出稳压电源电路图

 

撰写答案
提 交
1 / 3
1 / 3
相关电源电路
无噪声的的功放电源电路
LG CF-25H84彩电开关电源电路
LG MC-8AA机心彩电开关电源电路
LG MC-022A机心彩电开关电源电路
LG MC-019A机心彩电开关电源电路
相关过流保护电路
数控开关电源过流保护电路图
集成运算放大器输出过流保护电路原理
长虹NC-3机芯场过流保护电路
大功率直流电机的过流保护电路图
大功率直流电动机过流保护电路
相关电源
TDA16846组成的彩电开关电源原理图
联想LX-PL4C2型彩色显示器开关电源电路
长虹CN-9机心彩电开关电源电路
索尼KV2184彩电开关电源电路
王牌TCL-3460D彩电开关电源电路