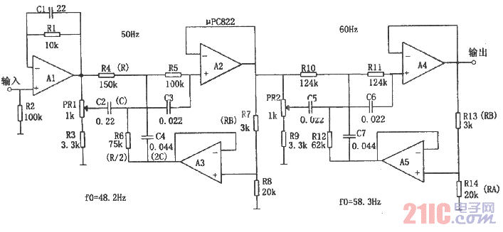
下图所示是一电源频率噪声滤波电路。该电路是一种双T滤波器,可用来在放大(如传感器等)微弱信号时,对混入的50Hz(或60Hz)电源频率的噪声进行滤出。若仅采用RC元件组成此类滤波器,其Q值一般较低,并具有宽带特性的衰减特性。采用运放并加正反馈就可提高Q值。设此时的Q值为Q',则Q'=Q/(1一K),式中,K=RA/(RA+RB)。改变系数K就可使Q值增大。电路的谐振频率为fo=1/2πRC,正反馈元件为R/2和2C。考虑到使用电容其特性的分散性,一般谐振频率要设低一些,然后用电位器PR1和PR2把频率调整到50Hz(或60Hz)。调整时,输入50Hz(或60Hz)正弦电压,调整PR使其通过滤波器的输出电压最小。采用这种滤波器时,若输入的电源噪声不是正弦波,就会有高频分量通过滤波器。交流电源中高次谐波一般是3、5、7等奇次谐波,可通过接入低通滤波器滤出这些谐波。
