0
问答首页 最新问题 热门问题 等待回答标签广场
我要提问

电子电路plc编程入门

上海新时达电梯控制柜(PLC变频器)

上海新时达电梯控制柜(PLC变频器)
提问者:60user194 地点:- 浏览次数:4627 提问时间:10-12 04:32
我有更好的答案
提 交
1条回答
xuyin8425 10-20 13:51

 上海新时达电梯主电路:


上海新时达电梯控制柜(PLC 变频器)

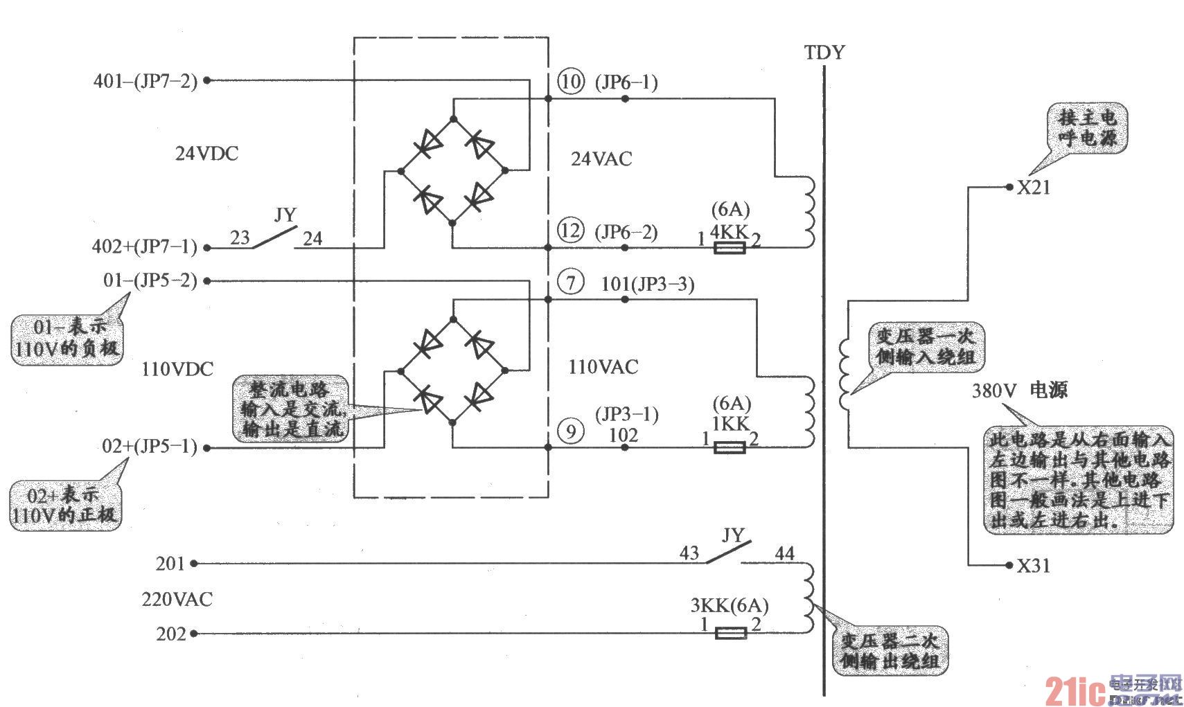
上海新时达电梯控制电源电路:


上海新时达电梯控制柜(PLC 变频器)

上海新时达电梯安全回路电路:


上海新时达电梯控制柜(PLC 变频器)

上海新时达电梯抱闸电路:


上海新时达电梯控制柜(PLC 变频器)

上海新时达电梯控制电路(1):


上海新时达电梯控制柜(PLC 变频器)

上海新时达电梯控制电路(2):


上海新时达电梯控制柜(PLC 变频器)

上海新时达电梯控制电路(3):


上海新时达电梯控制柜(PLC 变频器)

上海新时达电梯控制电路(4)


上海新时达电梯控制柜(PLC 变频器)

上海新时达电梯照明电路:


上海新时达电梯控制柜(PLC 变频器)
撰写答案
提 交
1 / 3
1 / 3
相关电子电路
TDA16846组成的彩电开关电源原理图
联想LX-PL4C2型彩色显示器开关电源电路
长虹CN-9机心彩电开关电源电路
索尼KV2184彩电开关电源电路
王牌TCL-3460D彩电开关电源电路
相关plc编程入门
PLC多工步机床锭脚加工机床电气控制主电路
PLC内部电路的直流输入电路
PLC控制水泵电机接线原理图
霍尔接近开关用于数控机床PLC电路图
PLC控制电动机正反向运转电路