0
问答首页 最新问题 热门问题 等待回答标签广场
我要提问

电源电路直流电路

直流12v正弦交流22Dv、50N、10w变换器电路图

直流12v正弦交流22Dv、50N、10w变换器电路图
提问者:60user81 地点:- 浏览次数:9587 提问时间:08-31 05:25
我有更好的答案
提 交
1条回答
as2969559 09-05 19:04

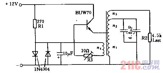
该电路晶体管采用单边乙类放大工作方式。利用电位器R3可以调整晶体管的放大倍数。如果负载部分包括无功分量,则必须考虑到相应的频率变化量。


主要技术数据:电池电压:12V  电池电流:2.5V  输出电压:220V,50Hz


额定输出功率:10W  晶体管损耗功率:7W  散热片面积:200cm平方  变压器数据:n1=65匝,1.2mm铜漆包线


直流12v正弦交流22Dv、50N、10w变换器电路图.jpg

撰写答案
提 交
1 / 3
1 / 3
相关电源电路
无噪声的的功放电源电路
LG CF-25H84彩电开关电源电路
LG MC-8AA机心彩电开关电源电路
LG MC-022A机心彩电开关电源电路
LG MC-019A机心彩电开关电源电路
相关直流电路
直流功率计电路图
直流伺服恒流功放电路图
交直流两用功放电路制作
纯直流场效应管功放电路原理图
直流电机的可逆原理