0
问答首页 最新问题 热门问题 等待回答标签广场
我要提问

电源电路电源

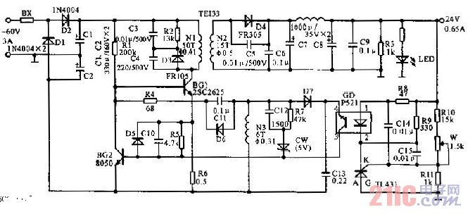
60V有线电视CATV开关电源电路图

60V有线电视CATV开关电源电路图
提问者:wang2222222 地点:- 浏览次数:1007 提问时间:05-07 20:33
我有更好的答案
提 交
1条回答
60user76 05-15 16:02

为了减小输出纹波,在该电路的输入端采用全波倍压整流,用提高直流电压的方法来降低输出纹波。实践证明,可取得满意的效果。如果用通常的方法,将交流60V经桥式整流,那么要得到同样低的输出纹波,输入滤波至少用5只470u/160V的电容。该电路的主要技术指标如下:输入交流电压35~70V,输出直流电压24V,输出直流电流0.65A,输出纹波(满负载时)<15mV(Vp-p).


60V有线电视CATV开关电源电路图.jpg

撰写答案
提 交
1 / 3
1 / 3
相关电源电路
无噪声的的功放电源电路
LG CF-25H84彩电开关电源电路
LG MC-8AA机心彩电开关电源电路
LG MC-022A机心彩电开关电源电路
LG MC-019A机心彩电开关电源电路
相关电源
TDA16846组成的彩电开关电源原理图
联想LX-PL4C2型彩色显示器开关电源电路
长虹CN-9机心彩电开关电源电路
索尼KV2184彩电开关电源电路
王牌TCL-3460D彩电开关电源电路