0
问答首页 最新问题 热门问题 等待回答标签广场
我要提问

检测电路报警电路

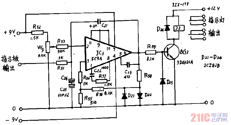
报警原理图电路

报警原理图电路
提问者:朱桂洪008 地点:- 浏览次数:4167 提问时间:04-05 03:24
我有更好的答案
提 交
1条回答
sunbingfeng 04-11 15:56

报警原理图电路.gif

撰写答案
提 交
1 / 3
1 / 3
相关检测电路
直流电度表通过分流器接线法
简单适用的“卡拉OK”功率放大器
互补差动全对称功率放大器01
新型双环功率放大器
半导体三极管内电流的传输过程电路
相关报警电路
直流电流电压变换电路图
简单的断开报警电路图
蜂鸣器报警电路
简单的连续波单音红外光束发射器电子图
接触式报警器电路图