
(1)电源部分
用高频开关电源取代笨重、庞大、低效和阻碍音质提高的传统电源,音质有一定的提高6
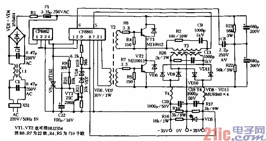
整个功放的音色使人倍感亲切、柔和。图6-24是工作频率为100kHz的开关电源图,其输出
直流电压在土35V至土45V连续可调,额定输出功率300W,效率大于85%,负载电压波动小
于0. 2%,空载纹渡电压0.2mV,满载70mVo在输入交流170V至270v情况下均能正常工
作。保护电路完善,厚膜组件CF8861内部能高灵敏限流,外部又设置了晶闸管永久性关断电
路,使开关电源的过流及保护短路迅速,工作可靠。
将开关电源直流输出调整为±35V,供给功放后级LM3875,前置级可简单采用7 81 5和
7 9 1 5供给LM833士isv电压,不必担心信噪比会恶化。
(2)前置、功放部分
美国NSC公司的单片集成功率放大器I.M3875是LM1875的升级产品,具有很高的性能
指标口LM3875芯片内部具有完善的过压、欠压、过载、电源短路,热击穿及瞬时高温冲击等
保护功能,性能优于一般分立元件和混台器件组成的放大器,而且外围电路简单,装配方便口
前置级选用LM833,它在人声和小提琴弦乐方面表现得圆润、细腻,较NE5532出色t贝
是缺少广告性宣传,知名度不如NE5532.在性能指标上,LM833与NE5532不相上下。