
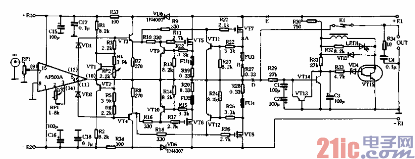
功放主电路如图7-6(其中只画了一个声道),图7-7是本功放配套的电源电路啬图7-6电
路分功率放大与保护电路两大部分6
功放电路由电压放大、缓冲级、电流放大级、超甲类偏置电路四部分组成。电压放大级
采用AP500A,该器件是耐高压(极限土75v)高速双JFET输入放大器,闭环工作颇响试0~
500kHz,具有自动调零(零漂小于0.02%)等特点。VT3. VT4组成缓冲放大器,它能提高AP
500A的驱动能力,减少后级VMOS场效应管输人结电容对音频谐波的衰减作用。电流放大级
每个声道采用两对互补VMOS对管(如图中的VT5~VT8),并用多管并联推挽输出,除了能
提高电路的输出线性及输出电流能力外,还可提高电路的阻尼系数;VMOS管作电流放大所
表现的出色音质已为多数烧友所赏识,其众多的优点在这里我们就不再赘述。
功放电路另一特点是功放管采用超甲类偏置。超甲类功放具有甲类不截止和甲乙类效率
高的双重优点o VTl.VT2组成恒压偏置电路,VDl. VD2的作用是只允许前级电流注入到
后级而阻止后级偏置电流流副前级.这样就可实现后级推挽管始终不截止,调整RP2就可以
改变后级推挽功放管的静态电流,一般调在10~60mA左右即可。