0
问答首页 最新问题 热门问题 等待回答标签广场
我要提问

电工电路电源

CO2气体保护电磁振动电弧堆焊电源设备电路

CO2气体保护电磁振动电弧堆焊电源设备电路
提问者:liyabn1 地点:- 浏览次数:8738 提问时间:07-17 20:38
我有更好的答案
提 交
1条回答
东莞吉创 07-25 06:27

18.CO2气体保护电磁振动电弧堆焊电源设备电路.gif


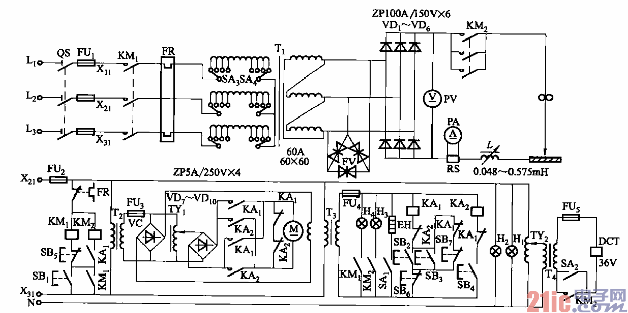
CO2气体保护电磁振动电弧堆焊电源设备电路


C02气体保护电磁振动电弧堆焊,简称振堆焊,常用于农机修理。其最大电弧电压为

30V,最大焊接电流为300A,焊丝送给速度为0~12m/min(无级词速),振动频率为100

次/s,振动幅度为0—0,5 mm,电抗器的调节范围分12挡,为0.048—0, 575mH。

    电路如图9 18所示。振堆焊电源设备主要由主电路(焊接变压器Ti、整流桥VDi~

VDs等)、控制回路(包括主控制、送丝速度控制和振动幅度控制电路)

撰写答案
提 交
1 / 3
1 / 3
相关电工电路
电工常用图形符号与文字符对照表
全桥式开关电源电路主回路
24位4.7Hz、4通道模拟数据采集系统电路图
自适应直流供电电源电路
收音机减少交流声的电路
相关电源
TDA16846组成的彩电开关电源原理图
联想LX-PL4C2型彩色显示器开关电源电路
长虹CN-9机心彩电开关电源电路
索尼KV2184彩电开关电源电路
王牌TCL-3460D彩电开关电源电路