0
问答首页 最新问题 热门问题 等待回答标签广场
我要提问

遥控电路红外接收电路测试电路

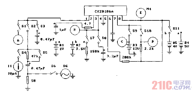
CX20106/CX20106A(电视机)红外线遥控接收前置放大电路-电特性测试电路

CX20106/CX20106A(电视机)红外线遥控接收前置放大电路-电特性测试电路
提问者:dposadksapdsakd 地点:- 浏览次数:5815 提问时间:07-13 00:56
我有更好的答案
提 交
1条回答
不cdvdhgdh 07-18 08:43

CX20106/CX20106A(电视机)红外线遥控接收前置放大电路-电特性测试电路.gif

撰写答案
提 交
1 / 3
1 / 3
相关遥控电路
遥控放大器电路图
遥控器编码式红外发射电路
遥控器编码式红外发射电路
遥控自动门电路a
具有60条指令的红外遥控接收器
相关红外接收电路
具有60条指令的红外遥控接收器
红外接收机电路图
红外接收机电路图
红外接收机电路图
KA2181(电视机和录像机)红外线遥控接收前置放大电路
相关测试电路
高频功放的测试电路
晶体管测试兼信号发生器电路图
M50462AP(电视机)红外线遥控发射微处理器-测试电路
遥控接收头测试电路
时基集成电路组成数字逻辑电路测试笔线路图