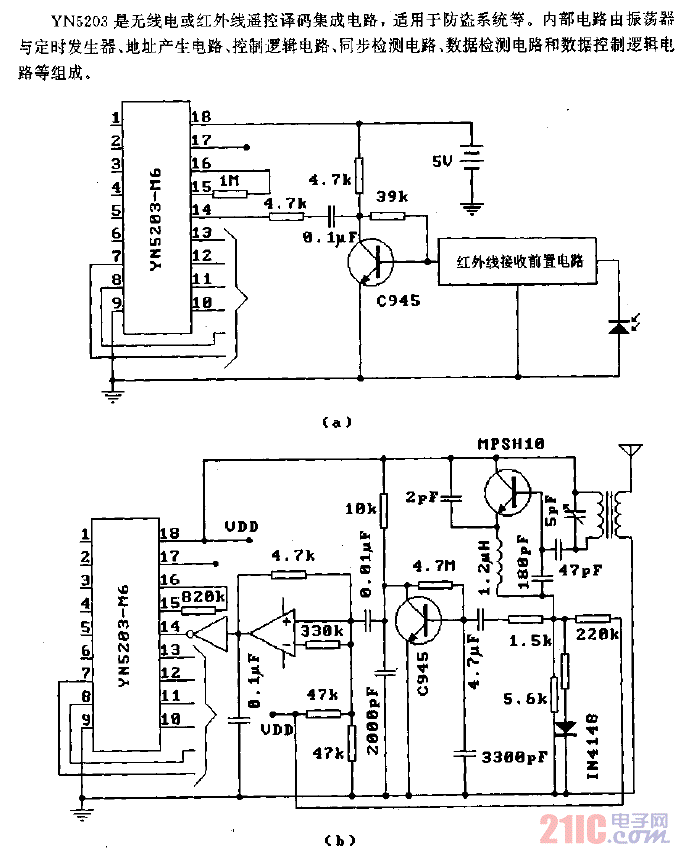
0
问答首页 最新问题 热门问题 等待回答标签广场
我要提问

遥控电路红外遥控电路

YN5203(防盗系统)无线电或红外遥控译码电路

YN5203(防盗系统)无线电或红外遥控译码电路
提问者:aaaa321 地点:- 浏览次数:4581 提问时间:02-15 18:58
我有更好的答案
提 交
1条回答
芯羿飞扬 02-21 00:07

YN5203(防盗系统)无线电或红外遥控译码电路.gif

撰写答案
提 交
1 / 3
1 / 3
相关遥控电路
遥控放大器电路图
遥控器编码式红外发射电路
遥控器编码式红外发射电路
遥控自动门电路a
具有60条指令的红外遥控接收器
相关红外遥控电路
具有60条指令的红外遥控接收器
红外遥控双功能插座电路图
使用PH302的红外遥控接收电路
红外灯遥控开关电路图
遮断式红外控制电路图