
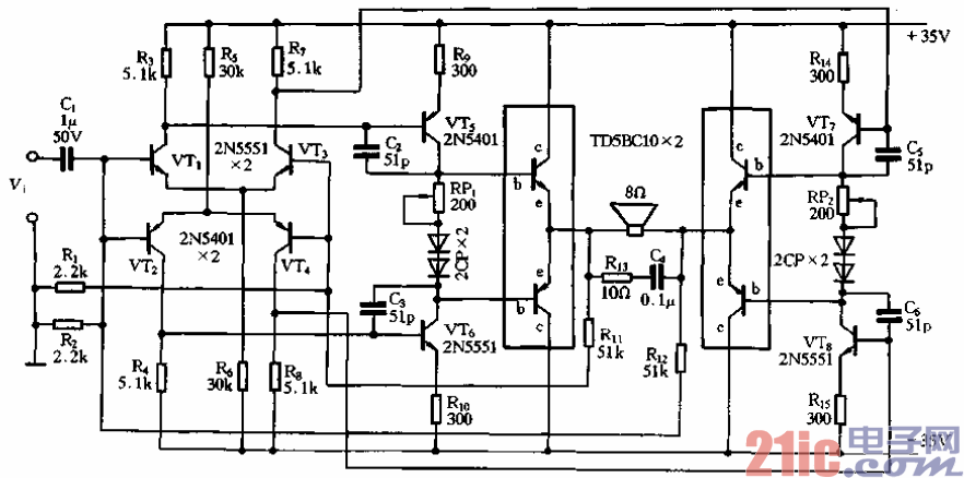
是一个桥式推挽低频功率放大电路,它的结构十分简单,输出功率可达1W。
可用作随身听的外接功放,也可用作电话、对讲门铃、报警器等功率放大器o
电路如图2-46所示。该电路结构简单,性能优良,输出功率大,调试简便,很适合
业余爱好者自制。
VTi~VT4组成互补对称双差分输入级,由于输出级为BTL结构,所以电压放大级
采用双推挽电压放大,以便和BTL功放输出级相适配。
功放输出级采用了一对一致性较小的功放配对模块TD5BC10,使调试工作十分简单o
也可采用与此性能相近的其它大功率管,配对使用。
关于华秋个人信息保护与技术必要性收集的说明欢迎访问华秋电子一站式服务平台!为保障网站安全稳定运行、履行《网络安全法》项下的网络安全保护义务,我们会使用Cookie记录您的基本访问偏好及防攻击识别信息。在您明确授权前,我们通过匿名化技术处理您的访问行为。继续浏览或点击“同意”即代表您认可我们依据最新的《华秋平台服务协议》与《隐私权协议》处理相关技术性数据,以确保为您提供流畅的询价与采购服务。