
OTL是Output Transformer Leas缩写,意为无输出变压器,由于电路中取消了输出变压器,因此彻底
克服了输出变压器本身存在的体积大、损耗大、频响差等缺点,得到了广泛的应用。OTL功率放大电路
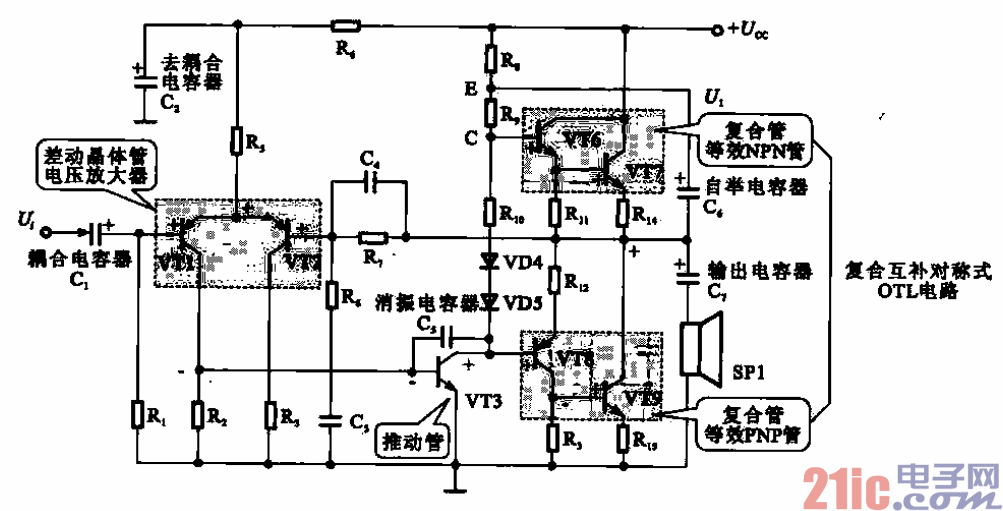
主要有互补对称式OTL功率放大电路和复合互补对称式OTL功率放大电路。如图10-12所示为复合互补
式OTL功率放大电路。
在该电路中.VT1和Yr2构成差分输入级电压放大器.VT3是推动管.VD4和VD5为功率放大输
出管的静态偏置二极管。VIb-VT9构成复合互补对称式OTL电路,是输出级电路。其中,VT6和VT7
为两只NPN型同极性复合管,它等效一只NPN型晶体管;VT8和VT9是PNP型和NPN型复合管,等
效成一只PNP型晶体管。
输入信号H经c1耦合后加到VT1的基极,经放大后从其集电极输出,直接耦台到VT3的基极,放
大后从其集电极输出。VT3的集电极输出的正半周信号经VT6和VT7放大后,由C7耦合到SP1中,在
SP1上获得一个完整的信号。