0
问答首页 最新问题 热门问题 等待回答标签广场
我要提问

电源电路电源

中联F9500伺服电源

中联F9500伺服电源
提问者:jiecai65 地点:- 浏览次数:1493 提问时间:09-25 09:45
我有更好的答案
提 交
1条回答
zllmc007 10-04 04:59

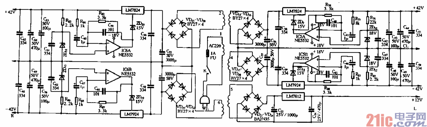
27.中联F9500伺服电源.gif


是中联F9500功放电路前置放大电路的供电电源。该电源采用

LM7824和LM7924组成±42V的伺服式稳压电源,采用运放之皇NE5532作伺服

电路。在这里,采用了在运放NE5532的同相端与地之间串接稳压管的方法来提高

输出电压,这种接法又称浮地接法。用此方法将固定输出电压由±24V提高到

±42Vo

撰写答案
提 交
1 / 3
1 / 3
相关电源电路
无噪声的的功放电源电路
LG CF-25H84彩电开关电源电路
LG MC-8AA机心彩电开关电源电路
LG MC-022A机心彩电开关电源电路
LG MC-019A机心彩电开关电源电路
相关电源
TDA16846组成的彩电开关电源原理图
联想LX-PL4C2型彩色显示器开关电源电路
长虹CN-9机心彩电开关电源电路
索尼KV2184彩电开关电源电路
王牌TCL-3460D彩电开关电源电路