0
问答首页 最新问题 热门问题 等待回答标签广场
我要提问

电机控制电路电动机起动电路

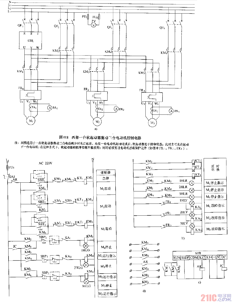
西普一台软起动器拖动三态电动机控制电路

西普一台软起动器拖动三态电动机控制电路
提问者:crcwqeqwe 地点:- 浏览次数:6999 提问时间:06-01 23:41
我有更好的答案
提 交
1条回答
djwfwf 06-08 05:08

西普一台软起动器拖动三态电动机控制电路.gif

撰写答案
提 交
1 / 3
1 / 3
相关电机控制电路
直流电动机正反转控制电路
直流电动机工作原理图
大功率直流电动机过流保护电路
直流电动机控制电路
.时间继电器控制正反转启动电路
相关电动机起动电路
正存ZLDB用于电动机星.三角起动器电路图
西普STR软起动器一台起动两台电动机
电动机星三角降压起动电路图
两台电动机顺序起动停止控制电路b
直流电动机使用变阻器起动控制的电路图