0
问答首页 最新问题 热门问题 等待回答标签广场
我要提问

电机控制电路继电器控制电路电机正反转电路

.固态继电器控制电动机正反向运转电路

.固态继电器控制电动机正反向运转电路
提问者:cKin_g 地点:- 浏览次数:9029 提问时间:06-15 17:14
我有更好的答案
提 交
1条回答
csshan3 06-20 23:04

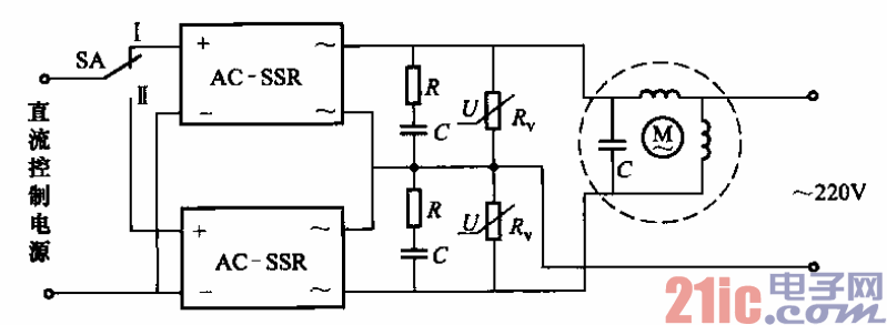
14.固态继电器控制电动机正反向运转电路.gif


电路如图3-14所示。开关SA置于“工”的位置,电动机正转;SA置于“Ⅱ”的位

置,电动机反转。图中,过电压保护元件RC和R,的选择同图3-13。

撰写答案
提 交
1 / 3
1 / 3
相关电机控制电路
直流电动机正反转控制电路
直流电动机工作原理图
大功率直流电动机过流保护电路
直流电动机控制电路
.时间继电器控制正反转启动电路
相关继电器控制电路
继电器低功耗保持电路图
.时间继电器控制正反转启动电路
继电器低功耗保持电路图
继电器输出简单的光束报警电路图
家用电器红外遥控接收电路图
相关电机正反转电路
.时间继电器控制正反转启动电路
H桥式电机正反转换控制电路图
防止相同短路的正反转控制电路图
电动机正反转控制电路
用倒顺开关的正反转控制