0
问答首页 最新问题 热门问题 等待回答标签广场
我要提问

电源电路整流电路

硅整流电容储能直流系统电路

硅整流电容储能直流系统电路
提问者:qwe043 地点:- 浏览次数:10901 提问时间:04-09 10:23
我有更好的答案
提 交
1条回答
60user93 04-17 08:37

146.硅整流电容储能直流系统电路.gif


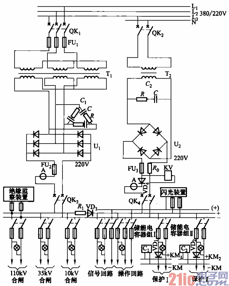
 硅整流电容储能直流系统广泛应用于35kV变电所的直流电源,其直流屏系统图如图

所示。它由两组硅整流器Ul和Uz、两组电容器组cl和C2、两台隔离变压器Ti和

Tz,以及断路器、电阻、二极管、接触器和熔断器等组成。图中,低电压继电器KV为Uz

欠电压报警用;Ro为限流电阻,以限制U2的输出电流。

   

撰写答案
提 交
1 / 3
1 / 3
相关电源电路
无噪声的的功放电源电路
LG CF-25H84彩电开关电源电路
LG MC-8AA机心彩电开关电源电路
LG MC-022A机心彩电开关电源电路
LG MC-019A机心彩电开关电源电路
相关整流电路
桥式整流电容滤波电路
双臂整流模块串联电路
三倍压整流电路
对整流中器件的保护电路图
采用同步整流模块构成的DC,DC变换器电路图