
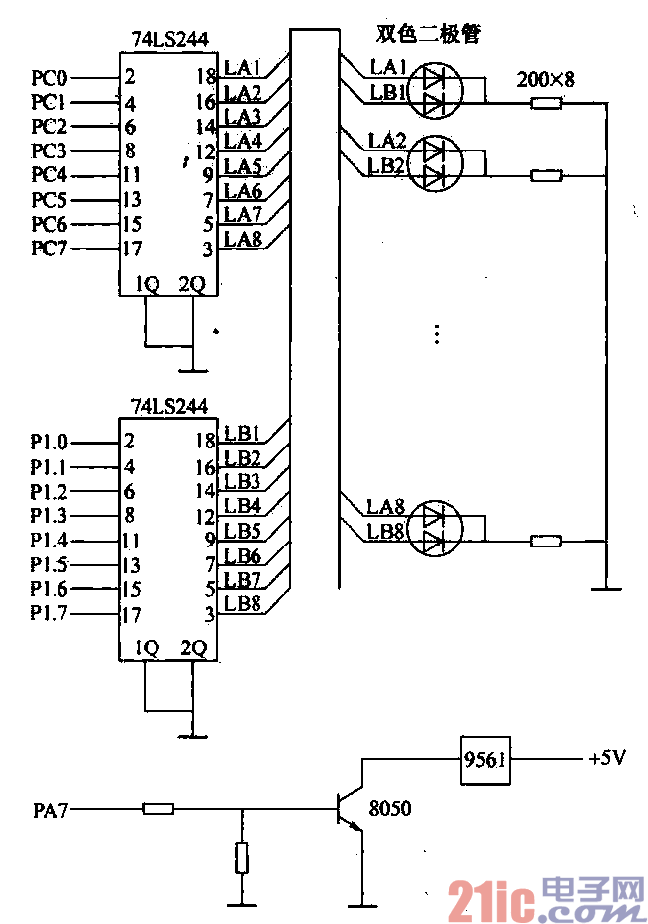
报警接口电路。如图所示,采用双色发光二极管进行显示。当LAi为高电
平t而LBi为低电平时,发光二极管显示绿色;反之,LAi为低电平+LBi为高电平时,发光二极管显示
红色;若两者均为高电平时,显示黄色。系统每个发光二极管指示一座退火炉,温度正常时显示绿色,高
于上限值时呈红色t低于下降值时为黄色。这样,操作人员可随时根据双色发光二极管的显示颜色,了解
每座退火炉工作是否正常。显示颜色的控制分别由8255A的C曰(PCO~PC7)和8031的Pl口(P17~
Pl0)来完成。