0
问答首页 最新问题 热门问题 等待回答标签广场
我要提问

电源电路电源

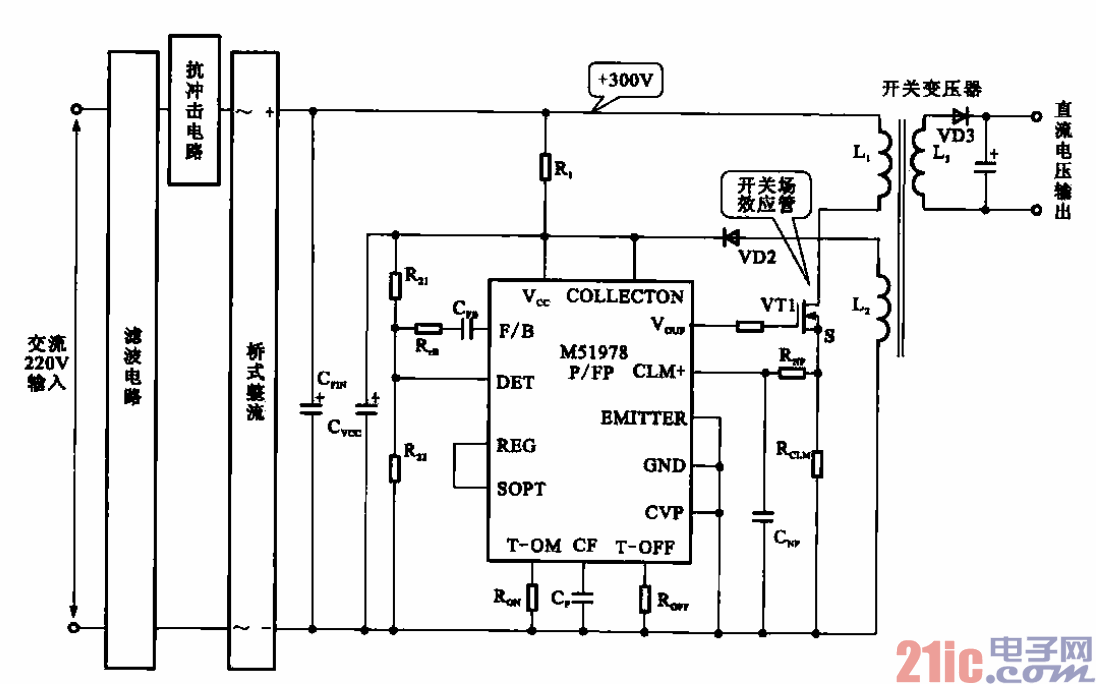
典型针式打印机开关电源的基本结构

典型针式打印机开关电源的基本结构
提问者:yisen282 地点:- 浏览次数:1596 提问时间:02-26 15:20
我有更好的答案
提 交
1条回答
adolclistin 03-04 20:53

43.典型针式打印机开关电源的基本结构.gif


典型针式打印机开关电源的基本结构


所示为典型针式打印机开关电源的基本结构。由图可知,M51978是开关振荡集成电路,

VT1是开关场效应晶体管,交流220 V经滤波和桥式整流堆输出+300 V直流电压,该电压经启动电阻

Ri加到开关振荡集成电路的供电端vcc,同时经开关变压器初级绕组加到开关场效应晶体管VT1的漏极,

开关变压器L2为正反馈绕组,为开关IC提供正反馈信号,使开关电源启振,于是次级整流滤波后输出

直流电压。

撰写答案
提 交
1 / 3
1 / 3
相关电源电路
无噪声的的功放电源电路
LG CF-25H84彩电开关电源电路
LG MC-8AA机心彩电开关电源电路
LG MC-022A机心彩电开关电源电路
LG MC-019A机心彩电开关电源电路
相关电源
TDA16846组成的彩电开关电源原理图
联想LX-PL4C2型彩色显示器开关电源电路
长虹CN-9机心彩电开关电源电路
索尼KV2184彩电开关电源电路
王牌TCL-3460D彩电开关电源电路