
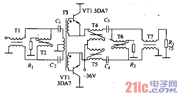
反相功率台成放大器的实际电路如图所示。晶体管:VT1、VT2均为3DA7,工作辛1.5~
18MHz.输出功率loow。
元件参数参考数值如下;
1)晶体管:VT1、VI2型号均为3DA7。
2)电阻:Rl -16fl,岛=16fl,咫-75fl。
3)电容:c1 =Cz =C3=G=O. OlptF。
由传输线变压器Tl构成反相功率分配
器,信号源电压加D端,在晶体管VT1和
VT2的输入端A端和B端,分别得到反相的
电压信号,实现了反相功率分配的目的。晶
体管VT1和VT2对反相的输入电压信号分
别进行放大,输出反相的功率信号。
晶体管VT1和VT2输出的反相的功率信号,加在传输线的变压器T2的A端和B端,合成于D端的
负载,实现了反相功率放大的目的。
厦相功率合成放大器的晶体管vri和VT2交替导通,流过反相电流,这在电源的利用上是合适和经
济的。