0
问答首页 最新问题 热门问题 等待回答标签广场
我要提问

电源电路直流电路电源

直流稳压电源电路

直流稳压电源电路
提问者:bin548 地点:- 浏览次数:8819 提问时间:01-29 10:57
我有更好的答案
提 交
1条回答
Lotus_Ching 01-30 02:54

20.直流稳压电源电路.gif


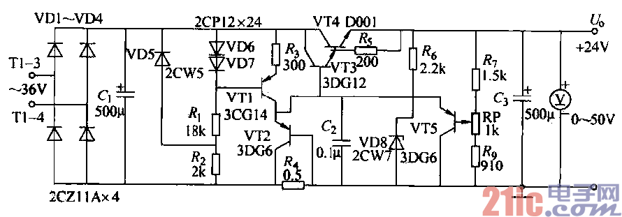
 直流稳压电源由整流、滤波、放大、稳压、取样电路组成,最后输出o—sov电压,供给光电控制电路,如图

撰写答案
提 交
1 / 3
1 / 3
相关电源电路
无噪声的的功放电源电路
LG CF-25H84彩电开关电源电路
LG MC-8AA机心彩电开关电源电路
LG MC-022A机心彩电开关电源电路
LG MC-019A机心彩电开关电源电路
相关直流电路
直流功率计电路图
直流伺服恒流功放电路图
交直流两用功放电路制作
纯直流场效应管功放电路原理图
直流电机的可逆原理
相关电源
TDA16846组成的彩电开关电源原理图
联想LX-PL4C2型彩色显示器开关电源电路
长虹CN-9机心彩电开关电源电路
索尼KV2184彩电开关电源电路
王牌TCL-3460D彩电开关电源电路