
前面学习的串联式稳压电源,由于调整管工作在放大态,在电路中相当于一个可以自动调整阻值的可
变电阻.管子的功耗大、效率低。而开关电源的开关管不是饱和就是截止+管子的功耗小、效率高。这种
利用开关原理工作的稳压电路就是开关稳压电源。
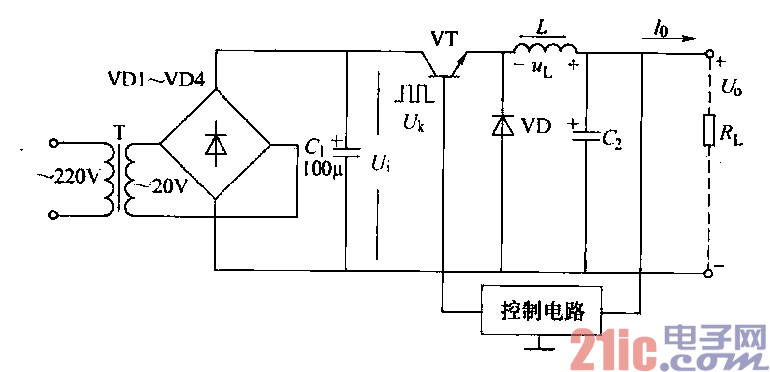
(1)电路组成串联式开关稳压电源的结构如图所示。图中,T为电源变压器,VDl-- VD4为
整流桥,c】、Cz为电容滤波,VT是开关管,工作状态受控于基极控制脉冲信号U,控制脉冲信号矾来
自控制电路,控制电路受控于输出电压巩,Ⅵ)是续流二极管,L是扼流电感。
(2)工作原理开关电源的核心部分是一个工作在开关状态的逆变器,它可以把直流电流逆变为高频
脉冲电流。当电源接通时,Ui输入,此时U"小于上限允许值Uam",经控制电路作用,开关管基极的控制
脉冲信号蚍为高电平,VT处于饱和导通态。U.经VT、L向C:充电,形成输出电流L和输出电T Ua。
饥随着时间的延续而升高,当上升到上限允许值Uonwx时,经控制电路作用,开关管基极的控制脉冲
信号“t为低电平,V1’处于截止态。由于扼流电感L中的电流不能突变.L产生自感电压“。.HI.的极性如
图12-26所示,续流二极管VD因正偏而导通.qL经RL、VD续流,同时cz放电,从而保持了开关管截止
期间负载电流的连续,但电流、电压是逐渐减小的。
当UQ下降到下限允许值U0。.。时,经控制电路作用,Uk为高电平,Vr赴于饱和导通态.c2又被充
电.此时续流二极管VD网反偏而截止,Uct再次上升。当U。上升到U~;时,控制脉冲信号”k变为低电
平。如此反复,电路处于开关态,使输出电压U0始终保持在允许的U~~U0陆之间波动,波动的范围一
般在毫伏量级,从而达到稳压的目的。