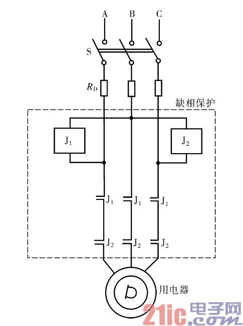
三相电动机在运转中如长时间缺相运行,电动机就会因绕组电流过大发热而被烧毁。如果是在启动时缺相,电动机就会嗡嗡作响而转不起米,甚至发热而被烧毁。如使用三相电源的柜式空调机,缺相也有烧坏压缩机的可能,会造成较大的经济损失。本文介绍的电路可以克服这一缺点,如图所示。

电路构成:用两个型号相同的继电器(主触头应能满足电动机的最大电流量,线圈电压为380V)作缺相保护,效果良好。其接线方法如图所示。将两个继电器的主触头串联在电动机供电回路中。当三相都有电时继电器J1、J2同时得电吸合,并闭合其主触头,使电路安全接通,如在运行时A相或B相突然断电,继电器J1将失电跳开,若B相或C相突然断电,继电器J2将失电跳开,切断电源。故A、B、c三相之中缺少了任一相,电动机的电源都会被切断,从而起到了保护作用。
元器件选择:该电路元器件无特殊要求,按图标选用即可。