0
问答首页 最新问题 热门问题 等待回答标签广场
我要提问

模拟电路

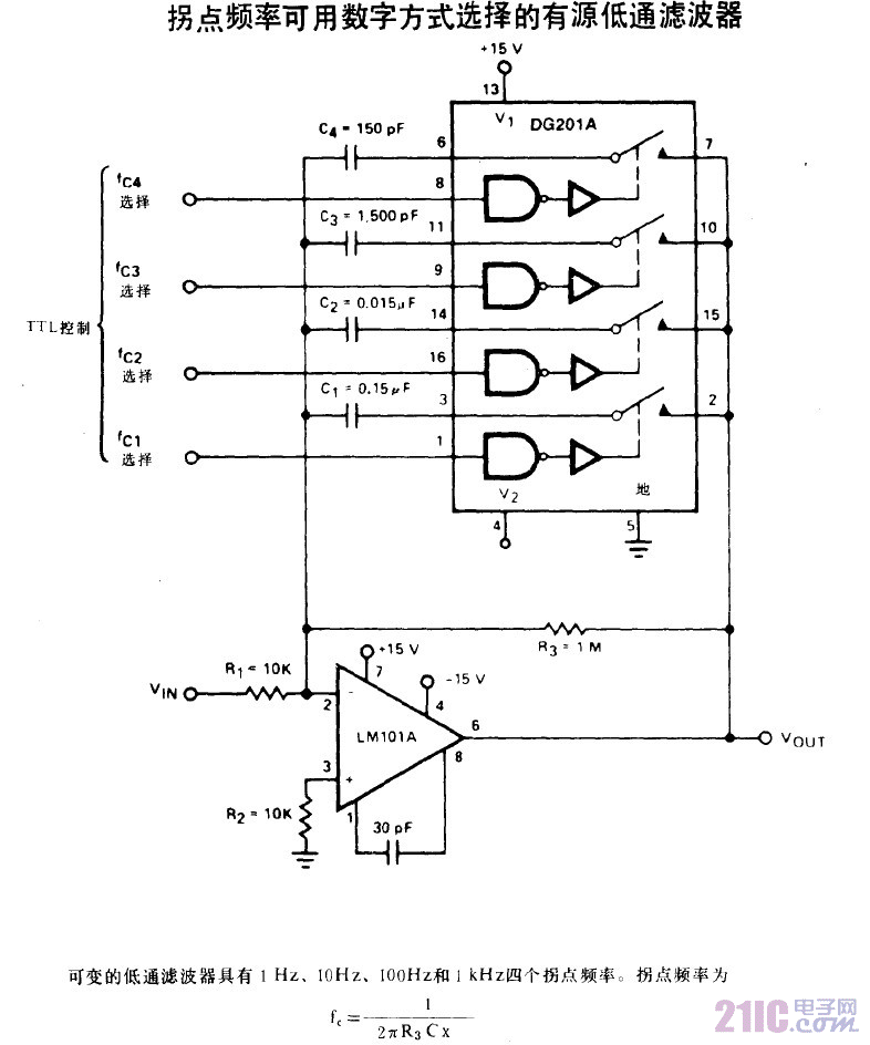
拐点频率可用数字方式选择的有源低通滤波器

拐点频率可用数字方式选择的有源低通滤波器
提问者:60user70 地点:- 浏览次数:2384 提问时间:02-20 07:26
我有更好的答案
提 交
1条回答
60user59 02-25 06:11

拐点频率可用数字方式选择的有源低通滤波器.gif

撰写答案
提 交
1 / 3
1 / 3
相关模拟电路
正弦波-方波波形变换电路
带符号位的多位二进制反码加减运算电路
最实用基本图解电路48-一相式过流保护电路
OTL音频功率放大电路
振荡电路的起振与稳幅过程电路